Remote Start System Installation Guide

© 2005 Directed Electronics, Inc. Vista, CA
2233
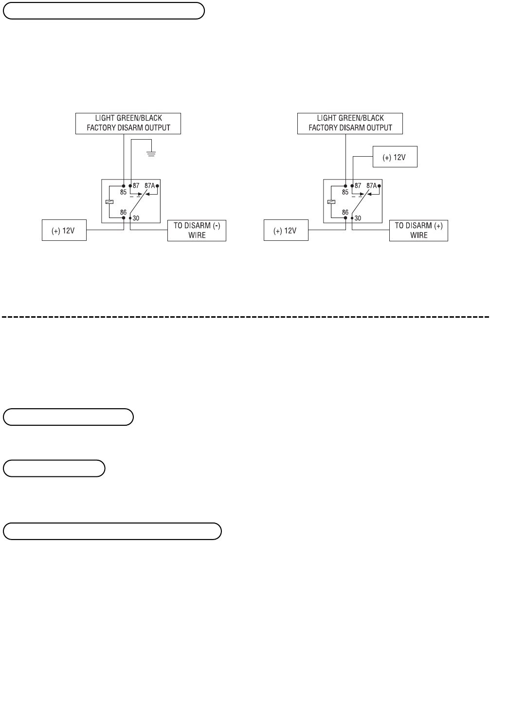
This wire sends a negative pulse every time the remote start is activated or the doors are unlocked. This can be
used to pulse the disarm wire of the vehicle's factory anti-theft device. Use a relay to send a (-) or (+) pulse to
the disarm wire as shown in the following diagrams.
RReellaayy ffoorr NNeeggaattiivvee ((--)) DDiissaarrmm WWiirree RReellaayy ffoorr PPoossiittiivvee ((++)) DDiissaarrmm WWiirree
rreellaayy kkeeyy ssaatteelllliittee iinntteerrffaaccee wwiirree ccoonnnneeccttiioonn gguuiiddee
The five heavy gauge wires coming from the large connector are used to energize high current circuits in the
vehicle. It is crucial that these connections are well-made and capable of handling the current demands. For this
reason, Scotch-Locks, T-taps and other such connectors are strongly discouraged.
After cutting the starter wire connect the PURPLE wire to the end going to the starter motor.
After cutting the starter wire connect the GREEN wire to the end going to the key side of the ignition.
Remove the two 30-amp fuses prior to connecting these wires and do not replace them until the satellite has
been plugged into the control module. These wires are the source of current for all the circuits the relay satel-
lite will energize. They must be connected to a high current source. Since the factory supplies (+)12V to the key
switch that is used to operate the motor, it is recommended that these wires be connected there.
NNOOTTEE::
If the factory supplies two separate (+) 12V feeds to the ignition switch, connect one
RED wire of the satellite to each feed at the switch.
RREEDD ((22)) ((++))1122VV iinnppuutt ffoorr hhiigghh ccuurrrreenntt oouuttppuuttss
GGRREEEENN ssttaarrtteerr iinnppuutt
PPUURRPPLLEE ((++)) ssttaarrtteerr oouuttppuutt
HH22//66 LLIIGGHHTT GGRREEEENN//BBLLAACCKK ((--)) ffaaccttoorryy ddiissaarrmm