User guide

Rev. 10/08 - 17 - D902/3
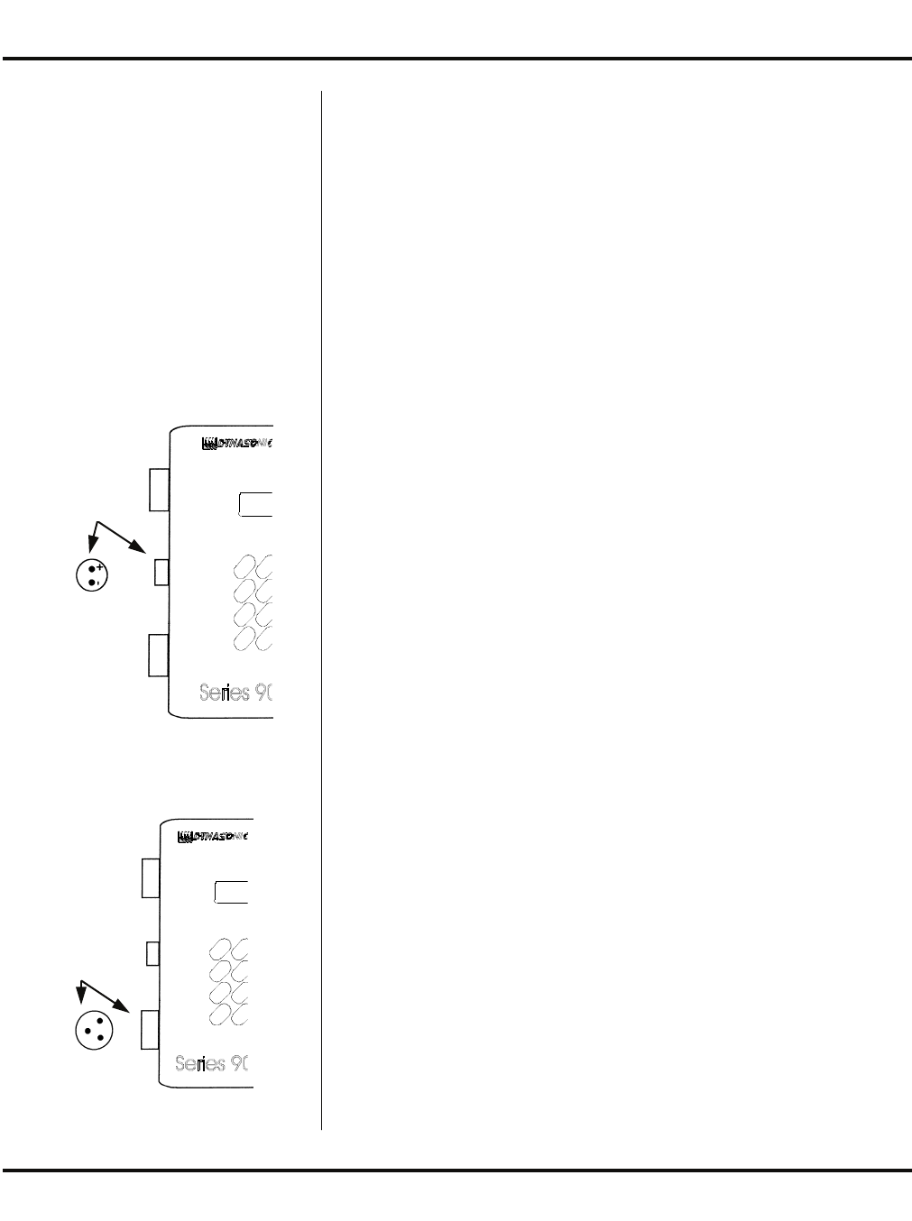
The 4-20 mA output is proportional to the flow rate
measuring scale and can drive a load of up to 600 Ohms.
The output is isolated from earth ground and circuit low.
Connect the load to the 4-20 mA connection socket
located on the side of the D902/3 enclosure, matching
polarity as indicated. See Figure 9. A mating plug for the
connection socket has been included.
To recharge the internal battery of the D902/3 or to
operate the meter for periods of time greater than 8 hours,
connect the meter to AC line power. Line power is
connected by plugging the enclosed line cord into the
appropriate connector socket located on the side of the
D902/3 enclosure. See Figure 10. Use wiring practices
that conform to local codes (National Electric Code
®
Handbook in the USA). Use only the standard three wire
connection. The ground terminal grounds the instrument,
which is mandatory for safe operation.
CAUTION: Any other wiring method may be unsafe or
cause improper operation of the instrument.
It is recommended not to run line power with other signal
wires within the same wiring tray or conduit.
NOTE: This instrument requires clean electrical line
power. Do not operate this unit on circuits with noisy
components (i.e. Fluorescent lights, relays, compressors,
variable frequency drives, etc.).
PART 2 - ELECTRICAL CONNECTIONS
Battery Charging and
AC Power Operation
Figure 9
4-20 mA Output
Figure 10
AC Power
Connection
4-20 mA Output










