Operating Guide

15
PLEASE NOTE: EL22 IS FOR OUTDOOR PERMANENT INSTALLATIONS ONLY AND EL22-I IS FOR INDOOR PERMANENT INSTALLATIONS ONLY. THIS MANUAL
AND ALL ECCOTEMP CONTENT IS SUBJECT TO CHANGE WITHOUT NOTICE. PLEASE VISIT WWW.ECCOTEMP.COM/SUPPORT FOR MORE INFORMATION.
Support: Eccotemp.com/help-desk Shop Online: Eccotemp.com/products Store Locator: Eccotemp.com/locator
Phone: 866-356-1992 | Email: Support@eccotemp.com | Address: 315 - A Industrial RD Summerville, SC 29483
English
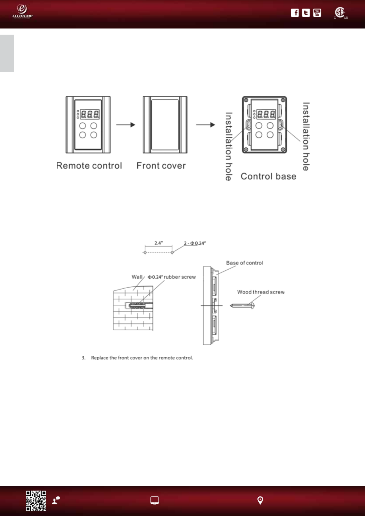
Installation of Remote Control
(Not included, available for purchase)
1. Remove the front cover of the Remote Control. (See illustration below)
2. At installation site, mark and screw two holes with 0.24” with 1.2” depth. Insert 2 rubber screws
into the holes. Place the remote control against the wall, align the holes of control with the
holes in the wall, and fasten them with wood thread screws. (See illustration below)
3. Replace the front cover on the remote control.
EL22