Nanao User's Manual Color LCD Monitor L550
Table Of Contents

English
2-2. Connecting the signal cable
NOTE
• Be sure that the Power buttons of both the PC and the monitor are OFF.
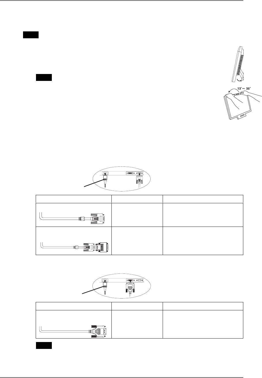
1. Set up the monitor after unfolding the base of the stand.
NOTE
• How to adjust Angles of the Monitor
Grip upper side of the monitor firmly with both hands and adjust the
monitor angle as desired.
2. Plug the signal cable into the connector at the rear of the
monitor and the other end of the cable into the video
connector on the PC.
After connecting, secure the connection with the screw-in fasteners.
Analog Input
Signal Cable Connector PC
Signal Cable (enclosed)
Video Output
Connector D-Sub
mini 15 pin
• Standard graphics card
• Macintosh G3 (Blue & White) /
Power Mac G4 (VGA)
Signal Cable (enclosed) +
Macintosh Adapter (Optional)
Video Output
Connector D-Sub
15 pin
• Macintosh
Digital Input
Signal Cable Connector PC
FD-C04/ FD-C35 / FD-C39
(Optional)
Video Output
Connector DVI
• Power Mac G4 (DVI)
• Digital graphics card
NOTE
• The monitor is not compatible with a Power Mac G4/G4 Cube ADC (Apple
Display Connector).
Power Cord
Power Cord
2. CABLE CONNECTION
13










