User manual

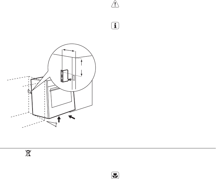
Lyft produktens framsida (1) och sätt
den i mitten av utrymmet mellan skåpen
(2). Om utrymmet mellan bänkskåpen är
större än produktens bredd måste du
justera sidoavståndet för att centrera
produkten.
Säkerställ att ytan bakom produkten är
jämn.
1
2
49 mm
77 mm
ELEKTRISK INSTALLATION
Varning Endast en behörig och
kompetent person får utföra den
elektriska installationen.
Tillverkaren frånsäger sig allt ansvar om
du inte följer föreskrifterna i avsnittet
"Säkerhetsinformation".
Denna produkt levereras med stickkontakt
och nätkabel.
Viktigt Om du ansluter stickproppen från
spisen till en 3-faskontakt, måste den ha en
neutral fas. Annars fungerar inte spisen.
MILJÖSKYDD
Symbolen på produkten eller emballaget
anger att produkten inte får hanteras som
hushållsavfall. Den skall i stället lämnas in
på uppsamlingsplats för återvinning av el-
och elektronikkomponenter. Genom att
säkerställa att produkten hanteras på rätt
sätt bidrar du till att förebygga eventuellt
negativa miljö- och hälsoeffekter som kan
uppstå om produkten kasseras som vanligt
avfall. För ytterligare upplysningar om
återvinning bör du kontakta lokala
myndigheter eller sophämtningstjänst eller
affären där du köpte varan.
Förpackningsmaterial
Förpackningsmaterialet är miljövänligt
och återanvändbart Plastdelar är märk-
ta med internationella förkortningar
som t.ex. PE, PS. Kassera materialet i
lämplig container på en återvinnings-
station.
electrolux 67










