User guide

■ chapter 1 getting to know the basics
1-12
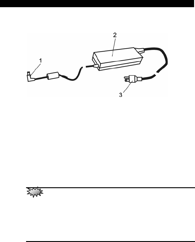
AC Adapter
1. DC-out Connector
The DC-out connector docks to the power jack (DC-in) on the
computer.
2. Adapter
The adapter converts alternating current into constant DC
voltage for the computer.
3. AC Plug
The AC plug plugs to the AC wall outlet.
Warning:
Make sure you are using a standard 3-prong AC wall socket with a
ground pin. If not, you may feel a slight tingling sensation on any of the
computer’s metal parts such as the I/O ports. This is caused by leakage current
when the AC adapter is not properly grounded (via the ground pin). However,
the amount of leakage current is within the safety regulation and is not harmful
to human body.










