Specification Sheet

Elkay
2222 Camden Court
Oak Brook, IL 60523
PART NO. 74180316
Printed in U.S.A.
©2010 Elkay
(Rev. 4/10) 4-20A
www.elkayusa.com
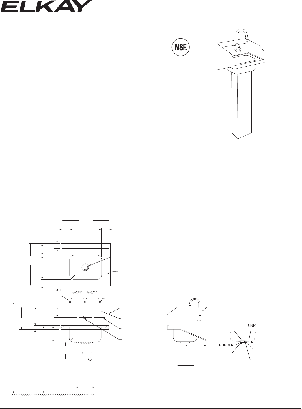
Model CHSP1716LRSSACC
(Pedestal Mount)
In keeping with our policy of continuing product improvement, Elkay reser ves the right to change
product specications without notice.
2-3/8"
(60mm)
2"
(51mm)
3-7/8"
(98mm)
9-1/4"
(235mm)
2-3/8"
(60mm)
W
HANGER
1-3/4" R
(45mm)
8-1/2"
(216mm)
7"
(178mm)
4"
(102mm)
1-3/4" R
(45mm)
(146mm) (146mm)
1/4" (6mm) DIA. 3 HOLES
1-1/2" (38mm)
I.P.S. WASTE
1-1/2" (38mm)
6"
(152mm)
5"
(127mm)
36"
(914mm)
FLOOR TO RIM
41-7/8"
(1064mm)
TO C
L
OF HOLES
FINISHED FLOOR
1-1/2"
(38mm)
15-1/2"
(394mm)
2-3/8"
(60mm)
2-3/16" DIA. HOLE
(56mm)
RAISED RIM AT
FRONT & SIDES
BOWL
DRAIN
FITTING
WASHER
LOCKNUT
PEDESTAL
CARDBOARD SHIM
(BETWEEN WASHER
& LOCKNUT)
PLUMBERS PUTTY
(BETWEEN SINK BOWL
& DRAIN FLANGE)
12"
(305mm)
16-3/4"
(425mm)
1-1/4" (32mm) DIA.
1 HOLE
BACKSPLASH SLOPED
AT 45 ANGLE
WALL HANGER
12" (305mm) LONG
8-1/2"
(216mm)
8-11/16"
(221mm)
5-3/4"
(146mm)
(4) 3/8" DIA. HOLES ARE
PROVIDED FOR ANCHORING
PEDESTAL TO FLOOR
(ANCHORS SUPPLIED BY OTHERS)
C
L
C
L
C
L
OF F AUCET
DRILLING
C
L
Hand Wash-Up Sink with Side Splashes,
Sensor Faucet and Pedestal – AC or Battery Powered
Model CHSP1716LRSSAC
®
SPECIFICATIONS
GENERAL
CHSP1716LRS Type 304 (18-8) stainless steel hand wash-up
sink with 7" (178mm) high right and left side splashes. Basin
has 1-3/4" (45mm) radius coved corners. Full length 7"
(178mm) high backsplash. Exposed surfaces have a brushed
finish. Furnished with stainless steel pedestal and wall hanger.
Carries NSF International Certication.
(CHECK MODEL SPECIFIED)
MIXING
MODEL FAUCET DRAIN TRAP VALVE
CHSP1716LRSSACC LKB722C LK8 LK500 NONE
CHSP1716LRSSACMC LKB722C LK8 LK500 LK724
CHSP1716LRSSACTMC LKB722C LK8 LK500 LK723
LKB722C Sensor-operated, backsplash-mounted, non-mixing goose-
neck faucet with adjustable sensor eyes. A continuous beam is
emitted from sensor and faucet is activated when hands are
placed under the spout. Water will flow as long as hands
remain within sensor range. When hands are removed,
the water stops automatically based on shut-off delay setting.
The sensor then resets for the next user.
Chrome-plated solid brass construction with 2.0gpm laminar
flow control on spout end. Includes water-resistant sensor control
module and power cables. Features dual power options: AC
plug-in and battery holder with four AA batteries.
Slow-closing piston operated solenoid valve, in-line filter with clean-
out trap and flexible supply hose.
Control circuit is solid state, has adjustable sensor range
of 7/8" (22mm) to 6-3/4" (171mm), shut-off delay preset to 1
second and field adjustable to 2 seconds (to prevent sink
overflow).
LK8 Chrome plated grid strainer with 1-1/2" (38mm) O.D. tailpiece.
LK500 Satin chrome cast brass "P" trap with cleanout, chrome
plated 1-1/2" (38mm) O.D. tubing waste arm to wall, and wall
flange.
LK723 Anti-scald thermostatic mixing valve with nickel-plated brass
body 1/2" (13mm) SWT inlets and outlet connections, check
valves on inlets and a mixed temperature range of 80°- 120 °F.
Certified under ASSE1016.
LK724 Mechanical mixing valve with C.P . brass body, 3/8"
(10mm) compr ession inlets and outlet connections, and check
valves on inlets.