Installation manual
Manuals
Brands
Enerzone Manuals
Home building and Decor
Solution 2.5-ZC
31
32
33
34
35
36
37
38
39
40
30
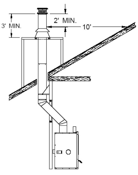
When you build a combustible chase enclosure fo
r chimney sections above the roof, refer to
the chimney manufacturer for clearances to com
bustible materials.
Figure 25 – Example of a combustible chase
enclosure installation above the roof
1
...
...
31
32
33
34
35
...
...
45