User's Manual Printer ActionPrinter 4500
Table Of Contents
- FRONT MATTER
- PRODUCT UPDATE NOTICE
- CONTENTS
- INTRODUCTION
- CHAP 1-SETTING UP THE PRINTER
- CHAP 2-PAPER HANDLING
- CHAP 3-USING THE PRINTER
- CHAP 4-SOFTWARE AND GRAPHICS
- CHAP 5-USING THE PRINTER OPTIONS
- CHAP 6-MAINTENANCE
- CHAP 7-TROUBLESHOOTING
- CHAP 8-TECHNICAL SPECIFICATIONS
- CHAP 9-COMMAND SUMMARY
- APPENDIX
- GLOSSARY
- INDEX
- QUICK REFERENCE

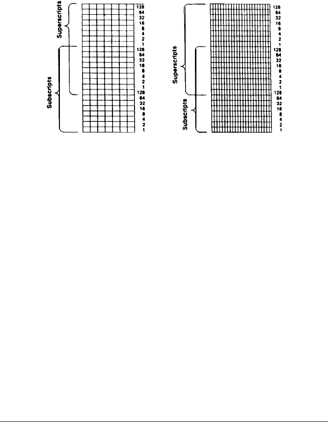
User-defined Characters
Since superscript and subscript characters are smaller, when you define
them you only need two bytes of data for each vertical row of dots.
Design grids for these characters are shown in the figure below:
Draft pica
Letter Quality
and Proportional
Mixing Print Styles
Each of the three user-defined character modes (draft, Letter Quality,
and proportional) can be used in combination with most of your
printer’s various print styles. For instance, emphasized mode works
with user-defined characters. The characters you design are enhanced to
give this printing effect.
Mixing the three types of user-defined character sets is not possible. For
example, if you select draft and define some characters, then select
proportional and define some more, the first draft character definitions
are deleted. Only one type of character definition may be stored in
RAM at any time.
4-30
Software and Graphics