Printer User Manual
Table Of Contents

STYLUS 800 Service Manual
Operating Principles
2.1 OVERVIEW
This section describes the operating principles of the printer mechanism and the electrical circuits of
the Stylus 800.
2.2 OPERATING PRINCIPLES OF THE PRINTER MECHANISM
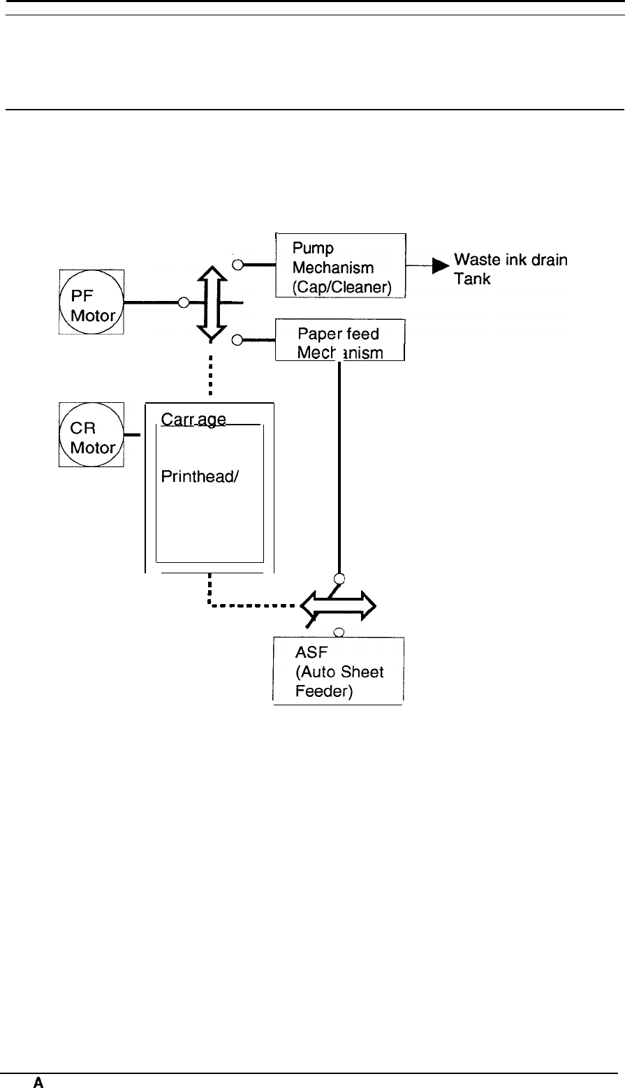
The Stylus 800 printer mechanism is composed of the printhead unit, paper feed mechanism,
carriage drive mechanism, pump mechanism, and various sensors. The figure below shows a
functional block diagram of the printer mechanism.
I
I
w.
%“’einkdrain
m
n
MecK
D
CR
Motor
Garr
age
Un t
i
i
Printhead/
Filter/
Driver circuit
1
m
m
mism
]
~.
.
.
.
.
.
.
.
.
.
*
n
ASF
(Auto Sheet
Feeder)
Figure 2-1. Functional Block Diagram of the
Printer Mechanism
Rev.
A
2-1