Printer User Manual
Table Of Contents

Operating Principles
STYLUS 800
Sewice Manua)
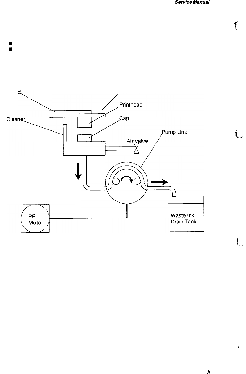
2.2.4 Ink System
This printer’s ink system is composed of the following mechanisms:
■ Ink cartridge
■ Pump mechanism
E Cap mechanism
H
Printhead cleaning mechanism
■ Waste ink drain tank
The figure below shows a diagram of the ink system.
Ink Cartridge
Head Driver
Boar
Filter
!
Figure 2-7. Diagram of the Ink System
(..
!-.
.:,,
{-
)
1
. .
.
2-6
Rev.
A