Printer User Manual
Table Of Contents

Operating Principles
STYLUS 800 Service
Manual
2.3.2 Operating Principles of the Main Control Circuit
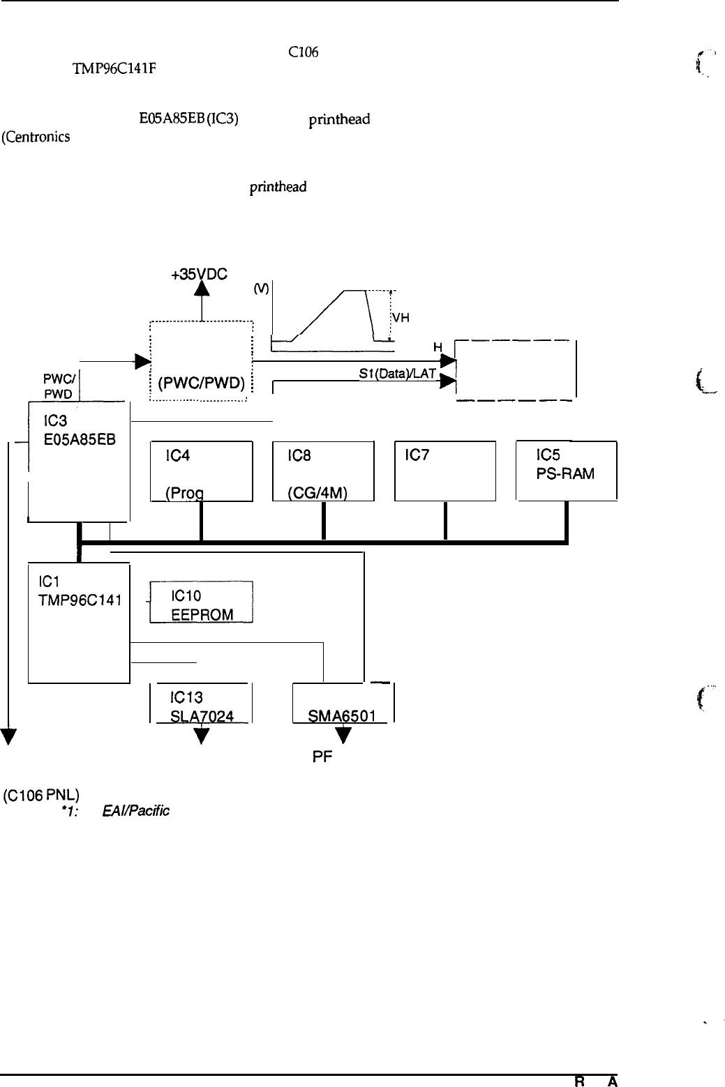
The main control circuit of this printer is the
C106
MAIN BOARD. This circuit is
controlled
by the
8-bit CPU
TMP96C141F
(ICI), running at 19.6608 MHz.
This CPU has a unique architecture
capable of handling data on the data bus at either an 8-bit bus width or a 16-bit bus width. Due to
this, a 16-bit data bus width-type ROM is used on this board, increasing the internal processing
speed.
Gate array
E05A85EB
(IC3)
manages
pnnthead
drive control, external I/F control
(Centronics
parallel I/F), and the control panel. The CPU directly controls both the carriage drive
motor and the paper feed motor. This board is also equipped with EEPROM 93C46 (IC1O) to store
certain parameters, such as the printer mechanism control parameter, default setting parameters, as
well as a special counter value used for
pririthead
protection.
,....:;c......;
~’--”;.
\
Common
!
~’
.
.
r–––––
I
*
Drive Circuit
~
Head driver
;
(PWC/PWD)
~
Sl(Data)iLAT
(Printhead)
t
Pwcl
PWD
IC3
E05A85EB
I
CRO-3
.
.
.
.
.
.
.
.
.
.
.
.
.
.
.
.
.
.
.
.
.
.
.
.
.
.
.
.
.
I
I
——————
IC4
IC8
*1
IC7
*2
IC5
PROM(1 M)
Mask ROM Mask ROM
PS-RAM
(Prog ram)
(CG14M)
(CGI16M)
(1 M)
I
I
ADO-15
I
I
Icl
(CPU)
TMP96C141
BzEl
P60x
P61x
1
IC13
QMI
?
SMA6501
V
CR Motor
PF
Motor
Control
Panel
(C106
Pt’d;)
Note: .
E41/Pacific
only
●
2:.
Europe only
—
(-
,.
.,.
(
,’
Figure 2-13. Main Control Circuit Block Diagram