Printer User Manual
Table Of Contents

Operating Principles
STYLUS 800 Service Manual
2.3.2.5
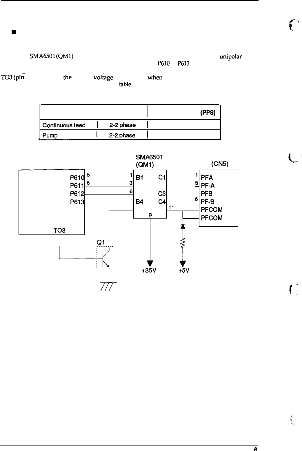
Paper Feed Motor Drive Circuit
The paper feed motor for this printer drives the following mechanisms:
c
~.,,
;
‘
9
Paper feed mechanism
.
.
■ Paper pickup mechanism
■ Pump mechanism
Driver IC
SMA6501
(QM1)
drives the paper feed motor by a constant voltage,
unipolar
drive
system. The CPU outputs phase control signals from ports
P610
to
P613
(pins 5 to 8) for the phase
switching operation. The CPU also outputs the supply voltage switching control signal from port
T03
(ph-
12) to switch
tie
supply volkge to +5 V-DC wh& the paper feed motor control is in
HOLD mode. The drive modes are shown in
table
below.
Table 2-7. Paper Feed Motor Drive Modes
Mode
Phase Excitation
Drive Frequency
(PPS)
Continuousfeed
j
2-2phase
I
800
Pump
drive
I
2-2phase
I
650
PF
SMA6501
Motor
(QM1)
(CN5)
CPU
P610
~
‘
01
~,
2
‘
PFA
(ICI)
P611
6
3
62 C2
4
5.
PF-A
P612
7
6
63
C3
7 2
PFB
P613
8
8
64
C4
9
6
PF-B
‘
0
BP
~
CP
“
3
PFCOM
4
PFCOM
12
T03
D1
12
QI
R4
. . . . . . .
. .
.
+35V
+5V
777-
(.e
‘
f“’”
.
.
Figure 2-18. Paper Feed Motor Drive Circuit Block Diagram
2-16
Rev.
A