Printer User Manual
Table Of Contents

Operating Principles
SNLUS
800 Service
Manual
2.4 INK SYSTEM MANAGEMENT
This section
explains how the
ink system is controlled to protect the printhead and the ink supply
system and to ensure highquality output.
The ink system control is composed of the following
operations:
■ Power on
■ Cleaning
■ Standby
■ Refresh
■ False absorbing
■ Cleaner blade
■ Ink end process
These ink system operations are controlled with the values indicated by the following counters and
timers:
H
Refresh timer
■ Flashing counter
■ Protect counter
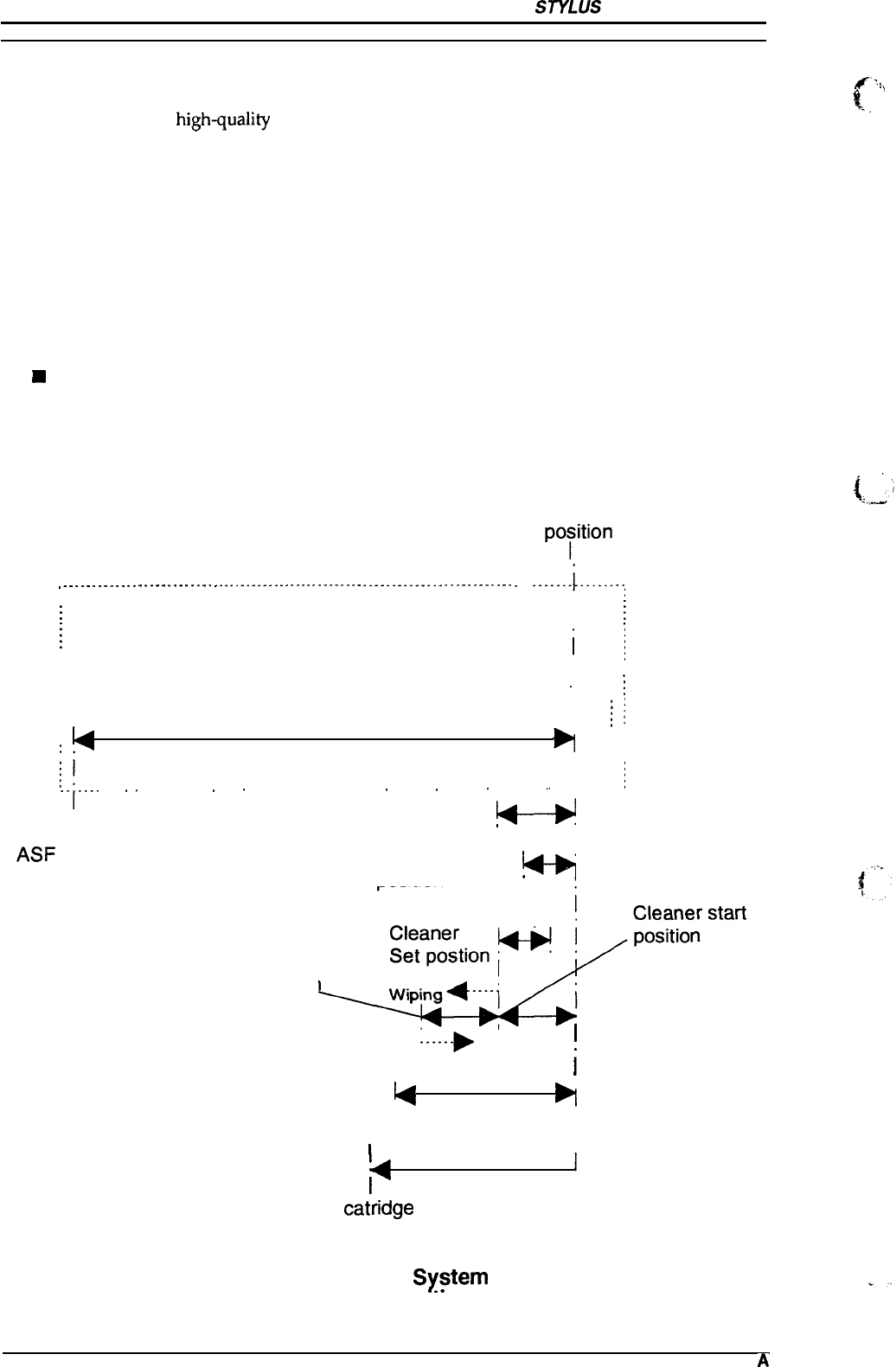
The figure below shows how the carriage position determines which ink system operation is to be
executed.
Ink system
Home
po~ition
(HP)
.
.
.
.
.
.
.
.
.
.
.
.
.
.
.
.
.
.
.
.
.
.
.
.
.
.
.
.
.
.
.
.
.
.
.
.
.
.
.
.
.
.
.
.
.
.
.
.
.
.
.
.
.
.
.
.
.
.
.
.
.
.
.
.
.
.
.
.
.
.
.
.
.
.
.
.
.
.
.
.
.
-------i---:
;
Printer mechanism
I
~
Cap/Pump
:
(M-481O)
~
Mechanism
/
i~
. . . . . . . .
.
i....
:
~
i
~:
:.
‘--------i ------
i
i.;....
. .+.
.
.
.
. . . . . . . . . . .
.
. . . .
.
. . . . . . . . . . . . . . . . . . . . .
.
. . . . . . .
-
. . . . . . -
-
- --- -------
-.
------, --------
Flashing
#
I
Position
‘
ASF
i
False absorbing
~
Sheet loading
w
position
‘
position
~“’’’sta”a”
Cleaner end position
‘------
Rubbing
~
Cleaner reset position
~
I
I
I
I
I
Ink catridge
Replacement
Position
Figure 2-20. Relation of Ink System Operation and
Carriage Position
#“’
,,,
t..
(.
““
%-’
2-18
Rev.
A