Printer User Manual
Table Of Contents
- FRONT MATTER
- TABLE OF CONTENTS
- INTRODUCTION
- CHAP 1-SETTING UP THE PRINTER
- CHAP 2-PAPER HANDLING
- CHAP 3-USING THE PRINTER
- CHAP 4-USING SOFTWARE AND GRAPHICS
- Using the LQ-2550 With Application Programs
- Computer-Printer Communication
- Enhancing Your Printing
- Graphics
- User-Defined Characters
- Designing Your Characters
- Design Grids
- Data Numbers
- Sending Information to Your Printer
- Printing User-Defined Characters
- Copying ROM Characters to RAM
- Letter Quality Characters
- Proportional Mode Characters
- Superscripts and Subscripts
- The Graphics Command
- Column Reservation Numbers
- A simple Graphics Program
- Using Hand-Calculated Data to Print Graphics
- Using Software and Graphics
- Mixing Print Styles
- CHAP 5-MAINTENANCE AND TRANSPORTATION
- CHAP 6-TROUBLESHOOTING
- Troubleshooting
- Problems and Solutions
- The Printer Does Not Print
- The Printer Stops Printing
- The Printout is Spaced Incorrectly
- The Printout is Faint or Uneven
- The Printout is Not what You Expect
- Single Sheets Do Not Feed Properly
- Continuous Paper Does Not Feed Properly
- Cut Sheet Feeder Does Not Load Paper Correctly
- The Short Tear-Off Feature Does Not Work Properly
- Color Printing Is Not What You Expect
- Data Dump Mode
- CHAP 7-USING PRINTER OPTIONS
- CHAP 8-COMMAND SUMMARY
- APPENDIX A-TECHNICAL SPECIFICATIONS
- GLOSSARY
- INDEX

Paper thickness:
Single sheets
0.0026
to
0.004
inches
(0.065
to
0.1
mm)
Continuous
0.0023
to
0.018
inches
(0.06
to
0.46
mm)
Envelope
0.0063
to
0.0197
inches
(0.16
to
0.52
mm)
Label
0.0075
inches (maximum
0.19
mm)
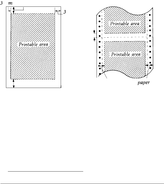
Printable area:
Single sheet
m
4.5 mm (0.33 “) or more
-3 mm (0.12”)
or more
9 mm (0.35”)
or more
:
Continuous paper
101 to 381 mm (4.0 to 15.0”)
paper
width
I
I
13.5 mm (0.53”) or more
13 mm (0.51”) or more
406 mm (16.0”) paper width
26 mm (1.02”) or more
*For printable area for envelopes, see page A-8.
Number of copies:
Continuous, multi-part, no carbon: one
original plus up to five copies. Total thickness
must not exceed
0.018” (0.46
mm)
A-4
Technical Specifications