Printer User Manual

Table Of Contents
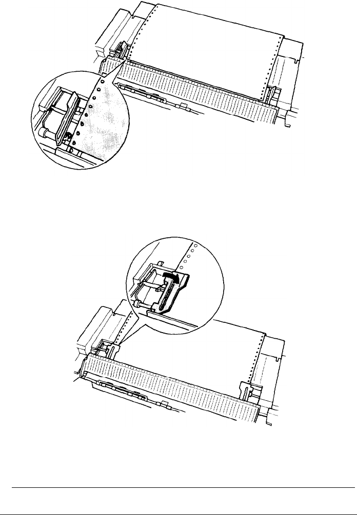
5.
Fit the first four holes in the continuous paper over the pins of the
sprocket units.
6. Close the sprocket covers.
Paper Handling
2-9