Instruction manual

Instruction Manual αlpha CON 2000
16
5 CALIBRATION MODE
You can access the Calibration mode directly from the Measurement mode by pressing the
CAL key and entering the Calibration security code “11”. Calibration mode may also be
accessed via the Setup mode (see section 6.1).
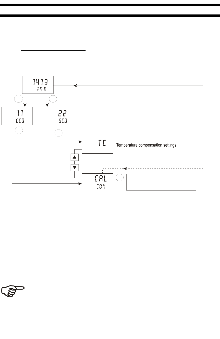
5.1 Entering Calibration mode
Enter Calibration Mode
MEAS
SETUP
HOLD
µS
4
4
°C
CAL
ENTER
ENT
SETUP
HOLD
4
Calibration
see section 5.2
ENT
ENT
ENT
1. While in Measurement mode press the CAL key (direct access) or ENT key (access via
Setup mode).
2. If CAL key was pressed: The display prompts you to enter the calibration security code.
Press the ▲ or ▼ key to set the calibration security code to “11”, then press the ENT
key to confirm the calibration security code.
3. If ENT key was pressed: The display prompts you to enter the security code. Press the
▲ or ▼ key to set the security code to “22”. Press the ENT key to confirm the security
code, then press the ▲ or ▼ key to select the calibration sub-function.
The display shows “CAL CON”. To start calibration refer to section 5.2.
Note: to exit Calibration mode at any time press the ▲ and ▼ keys
simultaneously (escape). The transmitter returns to the Measurement mode and
the old calibration values remain active. The calibration security code automatically
resets from “11” to “000” after the transmitter returns to Measurement mode.










