User Manual
Table Of Contents

7 BR200-BR250-KITS_fr-FR_V9.1 3/20
Remarque : Si l'image ne se synchronise pas correctement ou si la couleur est mauvaise,
assurez-vous que les paramètres NTSC/PAL son corrects. Voir la section Menu des
paramètres.
5. Utilisez la touche fléchée orientée vers le haut située sur l’écran pour sélectionner le mode
Images vidéo ou Images fixes .
6. Tournez le commutateur variateur rotatif situé sur le dispositif de commande de la caméra
pour régler l'intensité des voyants LED.
7. Pliez le câble flexible pour lui donner la courbure souhaitée. Le câble peut être plié pour
prendre la forme de la plupart des zones d'examen ; mais ne pas plier excessivement le
câble, car cela risque d’endommager le système.
8. Utilisez les accessoires fournis pour faciliter la localisation et la récupération de petits
éléments (modèles BR200 et BR250 uniquement). Reportez-vous à la section distincte du
présent manuel pour raccorder les accessoires de fixation.
Capture d'images fixes
Utilisez la touche fléchée orientée vers le haut située l’écran pour sélectionner le mode
Images fixes , puis appuyez sur la touche OK pour capturer une image fixe. L’image est
sauvegardée automatiquement sur la carte SD.
Enregistrement vidéo
Utilisez la touche fléchée orientée vers le haut située l’écran pour sélectionner le mode Vidéo
, puis appuyez sur la touche OK pour commencer l’enregistrement ; veuillez vous référer au
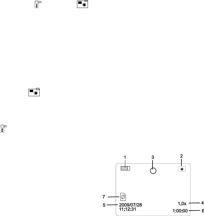
schéma suivant pour trouver les descriptions des icônes de l’écran :
1. Niveau de charge de la pile
2. Icône des fonctions (vidéo/image)
3. Enregistrement en cours
4. Niveau de ZOOM
5. Date et heure
6. Temps d’enregistrement restant
7. État de la carte SD










