- Extron Electronics MediaLink Controllers Setup Guide
Table Of Contents
- Front cover
- Safety Precautions
- Safety Precautions (Chinese) and FCC Class A Notice
- Table of Contents
- Ch. 1: Introduction
- Ch. 2: Hardware Setup
- Ch. 3: Software Setup
- Creating a Global Configurator Project File
- Configuring a New Device
- Step six: configure e‑mail server (IP models only)
- Step seven: configure e‑mail messages (IP models only)
- Step eight: configure contacts (IP models only)
- Step nine: assign serial device drivers
- Step ten: assign IR drivers
- Step eleven: configure the front panel
- Step twelve: configure associated control modules
- Step thirteen: create a shutdown schedule
- Step fourteen: create a lamp hour notification (IP models only)
- Step fifteen: create a disconnect notification (IP models only)
- Step sixteen: build the Global Configurator file
- Step seventeen: upload the Global Configurator file
- Step eighteen: launch GlobalViewer (IP models only)
- Testing the GlobalViewer pages
- Warranty
- Back cover:checklist and contact information

MLC 104 Plus Series • Hardware Setup
Hardware Setup, cont’d
2-4
Left Side Panel and Top Panel
Controls on the left side panel and top panel are described
below.
a
Reset Button — Recessed button used to reset the device. See
the MLC 104 Plus Series Reference Manual for available reset
modes.
b
Reset LED — Green LED that ashes to indicate reset mode.
c
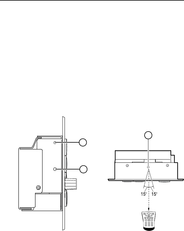
IR Learning Sensor — Receives and “learns” infrared
commands from other devices' remote controls to create an IR
driver. Accepts infrared signals from 30 kHz to 62 kHz.
N
Download IR Learner software from www.extron.com.
The MLC 104 Plus requires IR Learner version 1.23 or
higher.
RESET
MLC 104 Plus Series
Left Side
1
2
IR
1 2 3
4 5 6
7 8
0
9
2"–12"
(4–30 cm)
Top Panel
3