User Manual
Table Of Contents
- 1. Before You Start...
- 2. Cooker Overview
- 3. Using the Glide-out Grill™
- 4. The Multifunction Oven
- 5. The Steam Cavity
- 6. Cleaning Your Cooker
- 7. Troubleshooting
- 8. Installation
- Dear Installer
- Safety Requirements and Regulations
- Provision of Ventilation
- Location of Cooker
- Positioning the Cooker
- Moving the Cooker
- Lowering the Two Rear Rollers
- Completing the Move
- Fitting the Stability Bracket
- Repositioning the Cooker Following Connection
- Levelling
- Electrical Connection
- Connection in New Zealand
- Fixed Wiring
- Final Checks
- Final Fitting
- Customer Care
- 9. Servicing
- 10. Circuit Diagram
- 11. Technical Data

2
ArtNo.132-0001 - 1 phase 240Vac 50Hz
1-phase 230 V
AC
50 Hz
Electrical Connection Safety
n
WARNING: THE APPLIANCE MUST BE
EARTHED.
The cooker is preset for a single-phase earthed
electrical connection. It is essential to install
a multi-pole circuit breaker that completely
disconnects the appliance from the mains, with
a minimum contact break distance of 3 mm.
The total electrical load of the appliance is
approximately 12.15 kW. The cable size used
should be suitable for this load and comply
with all local requirements (i.e. PVC Insulated
cable IEC 60227 – code 53 for ordinary cables).
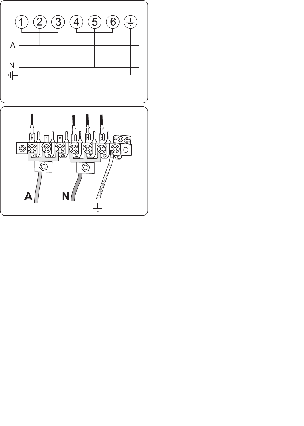
Access to the mains terminal is gained by
removing the electrical terminal cover box on
the back panel. Connect the mains cable to the
correct terminals for your electrical supply type
(Fig. 1.1 and Fig. 1.2). Check that the links are
correctly tted and that the terminal screws are
tight. Secure the mains cable using the cable
clamp.
Minimum temperature rating T105.
Read the instructions before installing or using
this appliance.
• This appliance is heavy so take care when
moving it.
• The cable size and type should be suitable
for the Electrical Load of the appliance and
comply with the relevant national and local
requirements.
• The cooker may be installed in a kitchen/
kitchen diner but NOT in a room
containing a bath or shower.
• The cooker MUST NOT be connected to an
ordinary domestic power point.
• It is normal for the hob control display
to flash for about 2 seconds during first
power setting.
• Set the clock to make sure that the oven is
functional – see the relevant section in this
manual.
Fig. 1.1
Fig. 1.2