User's Manual
Table Of Contents
- Front Cover
- FOR SAFE OPERATION
- REVISION RECORD
- PREFACE
- Important Alert Items
- CONTENTS
- CHAPTER 1 GENERAL DESCRIPTION
- CHAPTER 2 SPECIFICATIONS
- CHAPTER 3 DATA FORMAT
- CHAPTER 4 INSTALLATION REQUIREMENTS
- CHAPTER 5 INSTALLATION
- CHAPTER 6 DIAGNOSTICS AND MAI TENANCE
- CHAPTER 7 ERROR ANALYSIS
- APPENDIX A SETTING TERMINALS
- APPENDIX B CONNECTOR SIGNAL ALLOCATION
- INDEX
- Addresses
- Reader Comment Form
- Back Cover

C141-E166 4-13
(3) SG terminal
The IDD is not provided with an SG terminal (fasten tab) for DC grounding. Therefore, when
connecting SG and FG in the system, use the +5 VDC RETURN (ground) inside the power supply
connector as the SG on the power supply side.
(4) Connector for external operator panel
• Connector for 16-bit SCSI external operator panel
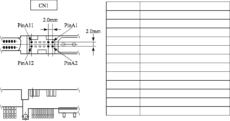
CN1 provides connector for the external operator panel other than the SCSI bus as shown in
Figure 4.16. Also, a connector for the external operator panel are provided on the IDD as
shown in Figure 4.17. This allows connection of an external LED on the front panel, and an
SCSI ID setting switch. For the recommended circuit of the external operator panel, see
Subsection 4.3.4.
Figure 4.16 External operator panel connector (CN1)
Pin Signal
A1 –ID0
A2 Fault LED
A3 –ID1
A4 ESID
A5 –ID2
A6 (Reserved)
A7 –ID3
A8 –LED
A9 OPEN
A10 GND
A11 +5 V
A12 –WTP










