User's Manual

Table Of Contents
4-18 C141-E166
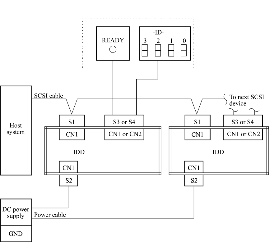
(6) Cable connection requirements
The requirements for cable connection between the IDD, host system, and power supply unit are
given in Figure 4.20. Recommended components for connection are listed in Table 4.2.
Figure 4.20 SCSI cables connection
External operator panel
(example)