User's Manual

Table Of Contents
C141-E166 5-15
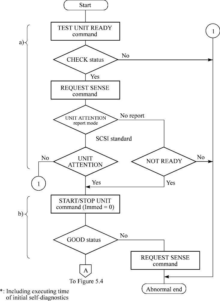
Motor starts by START/STOP command
Figure 5.5 Checking the SCSI connection (B)
* Executing time: about 60 seconds