Full Product Manual

6
1RWH
This range hood must be properly grounded. The unit
should be installed by a qualified electrician in
accordance with all applicable national and local
electrical codes.
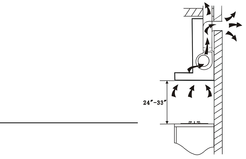
The mi
nimum hood distance above cook top must not be
less than 24’’. A maximum of 33” above cook top is highly
recommended for best capture of cooking impurities.
Distances over 33” are at the installer and users
discretion.
INSTALL THE DUCTWORK
Note: To reduce the risk of fire, use only metal
ductwork.
1. Decide where the ductwork will run between the hood
and the outside.
2. A straight, short duct run will allow the hood to perform most efficiently.
3. Install the Aluminum Flex duct on the vent towards hood location.










