User's Manual

Cinterion
®
EHS6-A Hardware Interface Overview Page 15 of 41
2.1 Application Interface
22
EHS6-A_HIO_v02.770 2014-08-13
Confidential / Preliminary
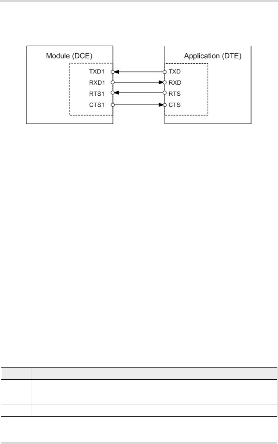
EHS6-A is designed for use as a DCE. Based on the conventions for DCE-DTE connections it
communicates with the customer application (DTE) using the following signals: • Port TXD
@ application sends data to module’s TXD1 signal line
• Port RXD @ application receives data from the module’s RXD1 signal line
Figure 4: Serial interface ASC1
Features
• Includes only the data lines TXD1 and RXD1 plus RTS1 and CTS1 for hardware han dshake.
• On ASC1 no RING line is available.
• Configured for 8 data bits, no parity and 1 or 2 stop bits.
• ASC1 can be operated at fixed bit rates from 1,200 bps to 921,600 bps.
• Autobauding supports bit rates from 1,200bps up to 230,400bps.
• Supports RTS1/CTS1 hardware flow. The hardware hand shake line RTS0 has an internal
pull down resistor causing a low level signal, if the line is not used and open. Although
hardware flow control is recommended, this allows communication by using only RXD and
TXD lines.
2.1.4 UICC/SIM/USIM Interface
EHS6-A has an integrated UICC/SIM/USIM interface compatible with the 3GPP 31.102 and
ETSI 102 221. This is wired to the host interface in order to be connected to an external SIM
card holder. Five pads on the SMT application interface are reserved for the SIM interface.
The UICC/SIM/USIM interface supports 3V and 1.8V SIM cards.
The CCIN signal serves to detect whether a tray (with SIM card) is present in the card holder.
Using the CCIN signal is mandatory for compliance with the GSM 11.11 recommendation if the
mechanical design of the host application allows the user to remove the SIM card during
operation. To take advantage of this feature, an appropriate SIM card detect switch is required
on the card holder. For example, this is true for the model supplied by Molex, which has been
tested to operate with EHS6-A and is part of the Gemalto M2M reference equipment submitted
for type approval. See
Section 7.1 for Molex ordering numbers.
Table 1: Signals of the SIM interface (SMT application interface)
Signal Description
GND Separate ground connection for SIM card to improve EMC.
CCCLK Chipcard clock
CCVCC SIM supply voltage.










