Technology GA-M59SLI-S5 / GA-M59SLI-S4 AMD Socket AM2 Processor Motherboard User's Manual

Hardware Installation- 35 -
English
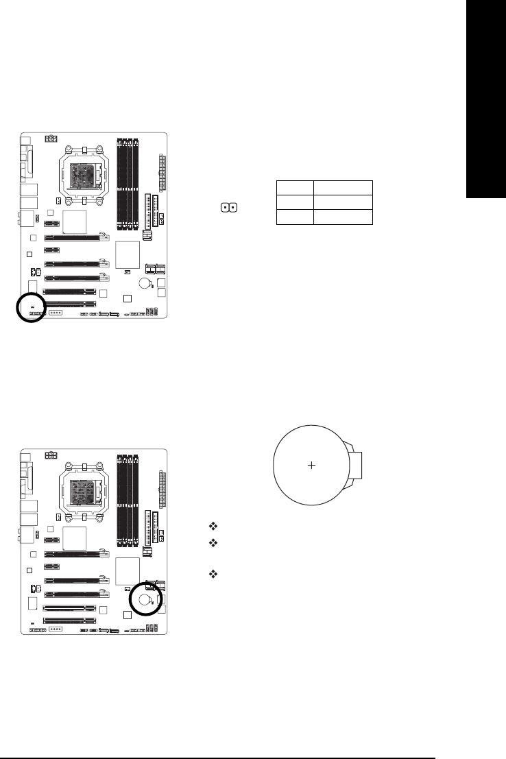
22) BATTERY
Danger of explosion if battery is incorrectly replaced.
Replace only with the same or equivalent type recommended
by the manufacturer.
Dispose of used batteries according to the manufacturer's
instructions.
If you want to erase CMOS...
1. Turn off the computer and unplug the power cord.
2. Gently take out the battery and put it aside for about one minute.
(Or you can use a metal object to connect the positive and
negative pins in the battery holder to makethem short for five
seconds.)
3. Re-install the battery.
4. Plug the power cord in and turn on the computer.
21) CI (Chassis Intrusion, Case Open)
This 2-pin connector allows your system to detect if the chassis cover is removed. You can check
the "Case Opened" status in BIOS Setup.
1
Pin No. Definition
1 Signal
2 GND










