Installation Guide
Manuals
Brands
GROHE Manuals
Bath
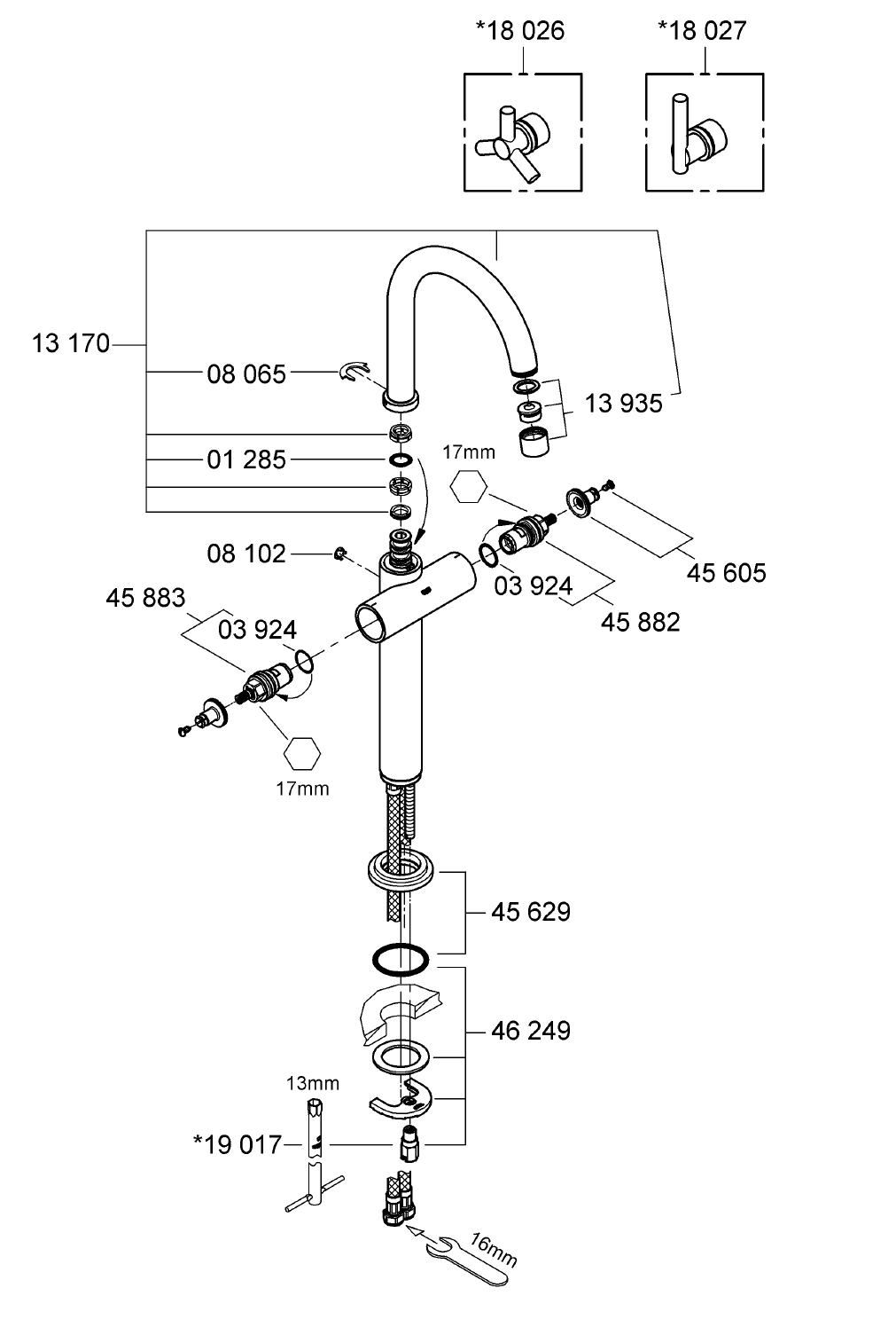
Atrio Single Hole 2-Handle Vessel Bathroom Faucet in Brushed Nickel InfinityFinish (Handles Sold Separately)
1
2
3
4
5
6
7
8
II
1
2
3
4
5
...
...
8