User Guide

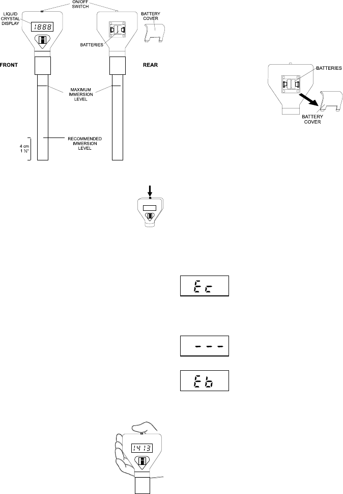
BATTERIES REPLACEMENT:
The symbol "Eb" on the LCD warns the user when
the batteries have to be replaced.
Open the compartment and
replace the two 1.5V bat-
teries while paying atten-
tion to their polarity.
Batteries should be replaced only in a non hazard-
ous area using the battery type specified in this
instruction sheet.
NoteNote
NoteNote
Note
: :
: :
: Once the batteries have been replaced, turn
the meter OFF and then ON again. Wait for about
30 seconds to allow a complete self-test, and then
perform a new calibration.
ERROR CODES:
Error in calibration, wrong calibration solution or
damaged probe.
Over range.
Low battery indication.
OPERATION:
• Turn the meter on by pressing the
ON/OFF button.
• Immerse the probe in the sample without
exceeding the maximum immersion level.
• Stir gently and wait for reading to stabilize.
The meter automatically compensates for tem-
perature variations.
• The conductivity value of the sample will be
shown on the LCD in µS/cm unit.
• To extend the batteries life, after 5 minutes of
nonuse the meter provides for auto-off.
CALIBRATION:
• Switch the meter on.
• Press and hold the ON/OFF
button for about 3 seconds.
"1413" will start blinking on
the display to indicate that
the calibration mode has been
entered.
• Immerse the probe in the
HI 70031 HI 70031
HI 70031 HI 70031
HI 70031 calibration
solution without exceeding the maximum im-
mersion level.
• Stir gently and wait for about 20 seconds to
confirm the reading.
• Once the display stops blinking, the meter is
calibrated and ready for use.
Warranty
The Primo 5 meter is warranted for one year against defects in
workmanship and materials when used for their intended purpose and
maintained according to instructions. This warranty is limited to repair or
replacement free of charge.
Damages due to accident, misuse, tampering or lack of prescribed main-
tenance are not covered.
If service is required, contact the dealer from whom you purchased the
instrument. If under warranty, report the model number, date of pur-
chase, serial number and the nature of the failure. If the repair is not
covered by the warranty, you will be notified of the charges incurred. If
the instrument is to be returned to Hanna Instruments, first obtain a
Returned Goods Authorization number from the Customer Service depart-
ment and then send it with shipping costs prepaid. When shipping any
instrument, make sure it is properly packaged for complete protection.
To validate your warranty, fill out and return the enclosed warranty card
within 14 days from the date of purchase.
Recommendations for Users
Before using this product, make sure that it is entirely suitable for the
environment in which it is used. Operation of this instrument in residen-
tial areas could cause interference to radio and TV equipment. Any
variation introduced by the user to the supplied equipment may degrade
the instrument EMC performance. To avoid electrical shocks, do not use
this instrument when voltage at the measurement surface exceeds 24 VAC
or 60 VDC. To avoid damage or burns, do not perform any measurement
in microwave ovens.


