User Guide

28
Service Manual VMH SerieS Heat Controller, Inc.
27
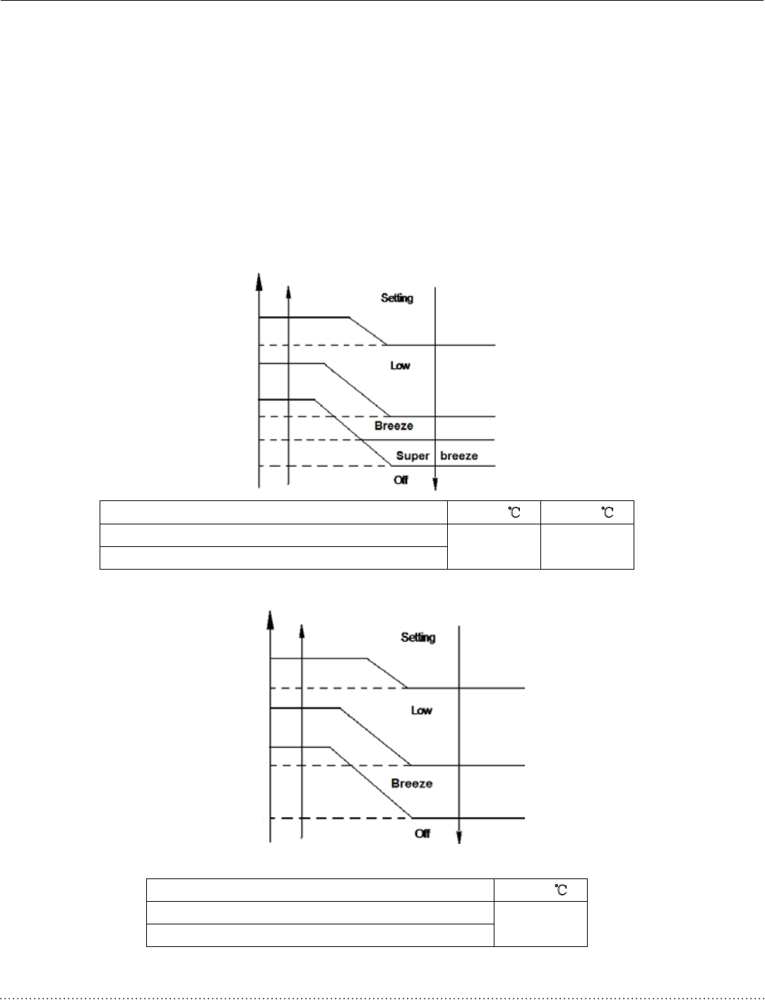
8.4.3.3 Indoor fan rules:
The indoor fan speed can be selected as high, medium, low and auto, the anti-cold-wind function has the
priority.
If set temperature is reached, the indoor fan switches to lowest speed, the anti-cold wind function has
priority.
If operation mode is changed or compressor restarts, indoor fan works in set fan speed.
Anti-cold-wind function control principle:
Unit TEL0 (℃
) TEL1 (℃)
VMH09SC-1
63°F/17°C 75°F/24°C
VMH12SC-1
Unit TEL0 (℃)
VMH18SC-1
75°F/24°C
VMH24SC-1
T2
°F °C
111 (44)
100 (38)
99 (37)
93 (34)
91 (33)
(TEL1)
(TEL0)
T2
°F °C
111 (44)
100 (38)
99 (37)
93 (34)
91 (33)
(TEL0)