- Hobart Welders Welder User Manual

OM-480 Page 28
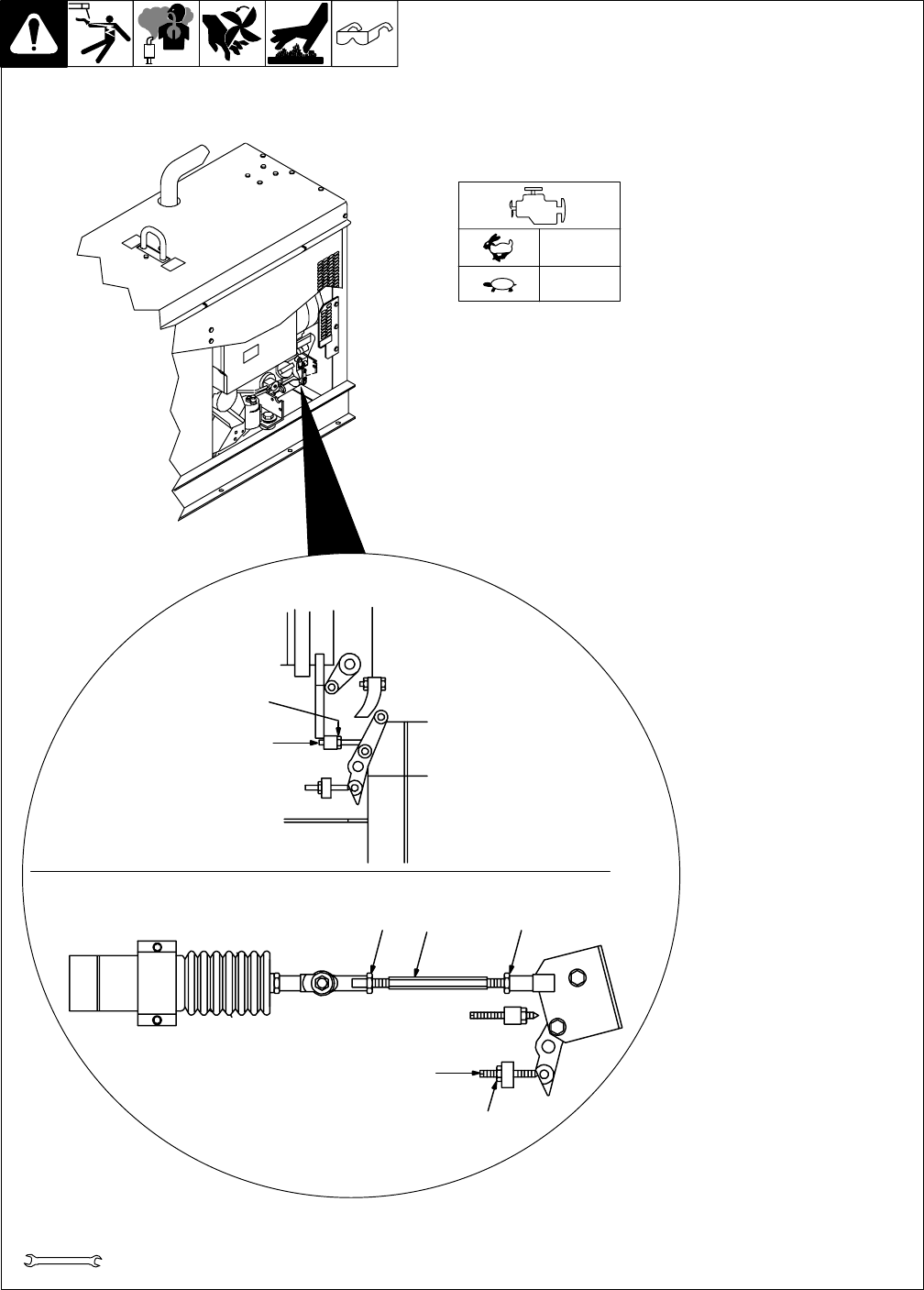
7-5. Adjusting Engine Speed
Ref. ST-801 179 / Ref. ST-800 159-D / Ref. ST-800 161
After tuning engine, check engine
no load speed with a tachometer
(see table for no load speeds). If
necessary, adjust speed as follows:
Start engine and run until warm.
Turn Amperage/Voltage Control to
100.
Standard Models:
1 Engine Speed Adjustment
Screw
2 Locking Nut
Loosen nut. Turn screw until engine
runs at 1850 rpm. Tighten nut.
Models With Automatic Idle
(Optional)
3 Throttle Rod
4 Locknut
Loosen locknuts. Place engine
control switch in Run/Idle position.
Turn throttle rod until engine runs at
idle speed. Tighten locknuts.
5 Engine Speed Adjustment
Screw
6 Locknut
Place engine control switch in Run
position.
Loosen locknut. Turn screw until
engine runs at weld/power speed.
Tighten locknut.
Stop engine.
4 34
5
6
1
2
3/8, 7/16 in
Standard Models
Models With Automatic Idle (Optional)
1850 rpm
(61.6 Hz)
1250 rpm
(41.5 Hz)
Tools Needed: