Maintenance and Service Guide

Service Manual Removal and Replacement 2-3
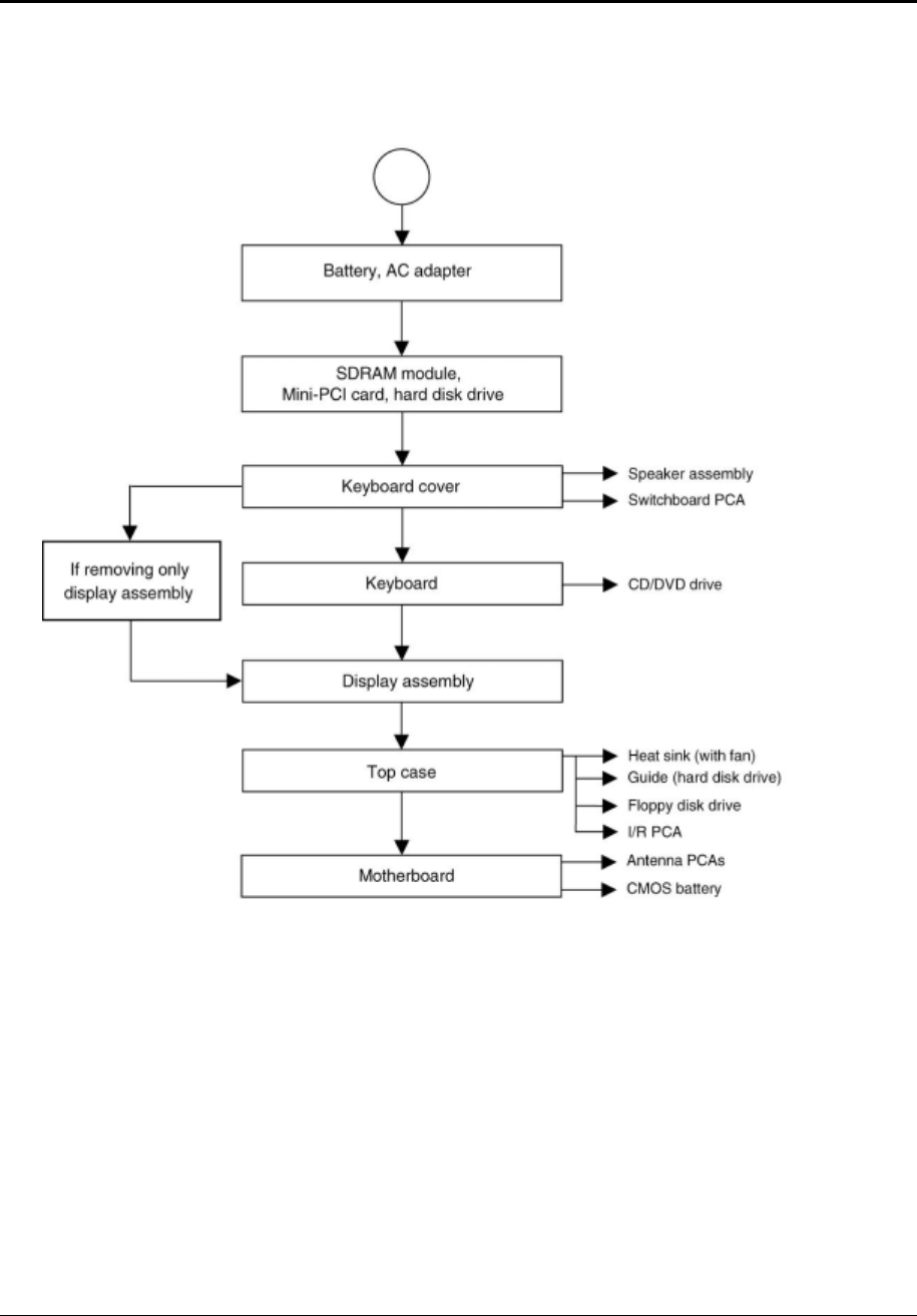
Disassembly Flowchart
The following diagram shows the general “path” you will use when disassembling the notebook
to access any particular component.
Figure 2-1. Disassembly Flow