- Hewlett-Packard Computer Monitor User Manual
Table Of Contents
- EMS Hardware Monitors User's Guide
- EMS Hardware Monitors User's Guide
- Legal Notices
- Legal Notices
- The information contained in this document is subject to change without notice.
- Hewlett-Packard makes no warranty of any kind with regard to this manual, including, but not limi...
- Copyright © 2001 Hewlett-Packard Company.
- This document contains information which is protected by copyright. All rights are reserved. Repr...
- Corporate Offices:
- Hewlett-Packard Co.
- Use, duplication or disclosure by the U.S. Government Department of Defense is subject to restric...
- Rights for non-DOD U.S. Government Departments and Agencies are as set forth in FAR 52.227-19(c)(...
- Use of this manual and flexible disc(s), compact disc(s), or tape cartridge(s) supplied for this ...
- A copy of the specific warranty terms applicable to your Hewlett-Packard product and replacement ...
- © Copyright 1980, 1984, 1986 AT&T Technologies, Inc. UNIX and System V are registered trademarks ...
- UNIX is a registered trademark in the United States and other countries, licensed exclusively thr...
- © Copyright 1979, 1980, 1983, 1985-1990 Regents of the University of California. This software is...
- Copyright © The Regents of the University of Colorado, a body corporate 1979
- This document has been reproduced and modified with the permission of the Regents of the Universi...
- PostScript is a trademark of Adobe Systems, Inc.
- Ethernet is a trademark of Xerox Corporation.
- © Copyright 1985-1986, 1988 Massachusetts Institute of Technology. X Window System is a trademark...
- MS-DOS and Microsoft are U.S. registered trademarks of Microsoft Corporation.
- OSF/Motif is a trademark of the Open Software Foundation, Inc. in the U.S. and other countries. C...
- AutoRAID(tm) is a trademark of Hewlett-Packard Company for the Advanced Disk Array product.
- Printing History
- Printing History
- September 2001
- The printing date and part number indicate the current edition. The printing date changes when a ...
- New editions of this manual will incorporate all material updated since the previous edition.
- Internal Date: July 17, 2001
- Event Management Lab Hewlett-Packard Co. 19091 Pruneridge Ave. Cupertino, CA 95014
- About This Manual
- About This Manual
- This guide is intended for use by system administrators and others involved in managing HP-UX sys...
- The book is organized as follows:
- • Chapter 1, “Introduction,”
- NOTE The information previously contained in the chapter entitled “Monitor Data Sheets,” has been...
- Typographical Conventions
- This guide uses the following typographical conventions:
- NOTE Notes contain important information.
- CAUTION Caution messages indicate procedures which, if not observed, could result in damage to yo...
- WARNING Warning messages indicate procedures or practices which, if not observed, could result in...
- Supporting Documentation
- The following documentation contains information related to the installation and use of the hardw...
- • Support Plus: Diagnostics User's Guide
- Related Web Site
- The following web site provides information on hardware monitoring.
- • http://docs.hp.com/hpux/diag
- Reader Comments
- We welcome your comments about our documentation. If you have editorial suggestions or recommende...
- Serious errors, such as technical inaccuracies that may render a program or a hardware device ino...
- 1 Introduction
- 1 Introduction
- This chapter introduces the EMS Hardware Monitors. The topics discussed in this chapter include:
- This chapter introduces the EMS Hardware Monitors. The topics discussed in this chapter include:
- • What is hardware monitoring?
- NOTE Do I Really Need to Read This Chapter?
- Hardware Monitoring Overview
- Hardware Monitoring Overview
- hardware monitoring:overview
- What is Hardware Monitoring?
- What is Hardware Monitoring?
- Hardware monitoring is the process of watching a hardware resource (such as a disk) for the occur...
- To achieve a high level of system reliability and availability, it is essential that you know whe...
- Another important feature of hardware monitoring is its integration with applications responsible...
- Hardware monitoring is designed to provide a high level of protection against system hardware fai...
- How Does Hardware Monitoring Work?
- How Does Hardware Monitoring Work?
- hardware monitoring:how it works
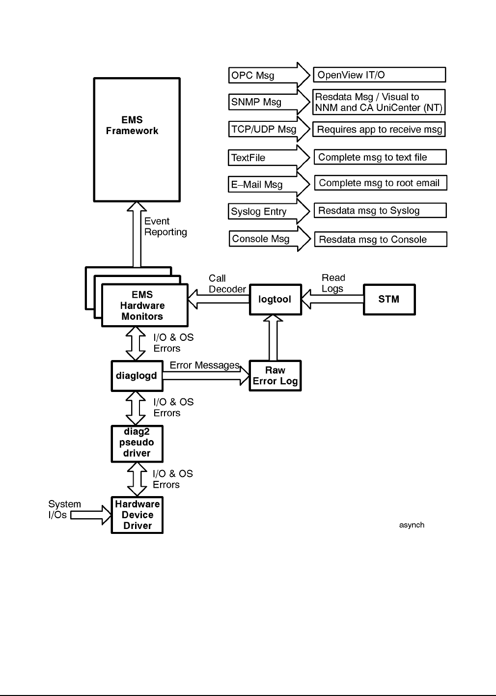
- The following figure shows the basic components involved in hardware monitoring.
- Figure11 Components Involved in Hardware Monitoring
- The typical hardware monitoring process works as follows:
- 1. While monitoring its hardware resources, the hardware event monitor detects some type of abnor...
- 1. While monitoring its hardware resources, the hardware event monitor detects some type of abnor...
- 2. The hardware event monitor creates the appropriate event message, which includes suggested cor...
- 3. EMS sends the event message to the system administrator using the notification method specifie...
- 4. The system administrator (or Hewlett-Packard service provider) receives the messages, corrects...
- 5. If the Peripheral Status Monitor (PSM) has been properly configured, events are also processed...
- NOTE The Difference Between Hardware Event Monitoring and Hardware Status Monitoring
- Benefits of Hardware Monitoring
- Benefits of Hardware Monitoring
- hardware monitoring:benefits
- Hardware monitoring provides the following benefits:
- • Reduces system downtime by detecting hardware failures when they occur, allowing you to quickly...
- • Reduces system downtime by detecting hardware failures when they occur, allowing you to quickly...
- • Integrates into MC/ServiceGuard and other applications responsible for maintaining system avail...
- • Minimizes the time required to isolate and repair failures through detailed messages describing...
- • Includes a default monitoring configuration that offers immediate protection for your system ha...
- • Provides a common tool for monitoring a wide variety of system hardware resources.
- • Offers a variety of notification methods to alert you when a problem occurs. No longer do you n...
- • Requires minimal maintenance once installed and configured. New hardware resources added to the...
- Products Supported by Hardware Monitors
- Products Supported by Hardware Monitors
- hardware monitoring:supported hardware
- supported hardware
- EMS hardware monitors are provided for a wide range of system hardware resources. The following l...
- • HP disk arrays, including AutoRAID Disk Arrays and High Availability Disk Arrays
- • HP disk arrays, including AutoRAID Disk Arrays and High Availability Disk Arrays
- • HP disk devices, including CD-ROM drives and MO drives
- • HP SCSI tape devices, including many DLT libraries and autochangers
- • HP Fibre Channel SCSI Multiplexer
- • HP Fibre Channel Adapters
- • HP Fibre Channel Adapter (A5158)
- • High Availability Storage Systems
- • HP Fibre Channel Arbitrated Loop Hubs
- • HP Fibre Channel Switch
- • System memory
- • Core hardware
- • Low Priority Machine Checks (LPMCs)
- • HP-UX kernel resources
- • HP Fibre Channel disk array FC60
- • SCSI1, SCSI2, SCSI3 interface cards
- • System information
- • HP UPSs (Uninterruptible Power Systems)
- • Devices supported by HP device management software (Remote Monitor)
- NOTE Will new products be supported?
- Tips for Hardware Monitoring
- Tips for Hardware Monitoring
- Here are some tips for using hardware monitoring.
- Keep hardware monitoring enabled to protect your system from undetected failures.
- Keep hardware monitoring enabled to protect your system from undetected failures.
- Integrate the peripheral status monitor (PSM) into your MC/ServiceGuard strategy.
- Utilize the many notification methods available.
- Use email and/or textfile notification methods for all your requests.
- Use the `All monitors' option when creating a monitoring request.
- Easily replicate your hardware monitoring on all your systems.
- Hardware Monitoring Terms
- Hardware Monitoring Terms
- terms to understand
- glossary of terms
- The following terms are used throughout this guide. Understanding them is important when learning...










