HP Netserver LXr Pro8 User Guide

Chapter 7 Mounting the Server in the Rack
61
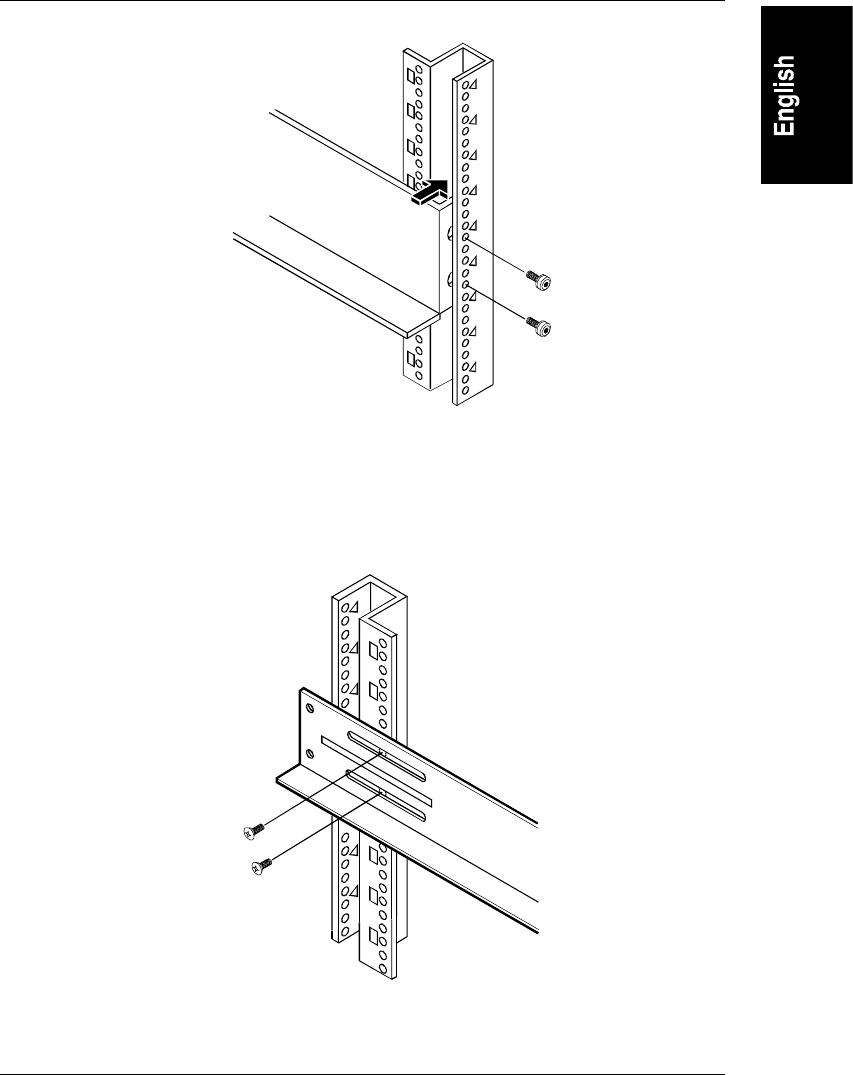
Figure 7-2. Fastening the Rail to the Front Column
4. Line up the horizontal slots at the rear of the rail with the Tinnerman nuts
in the rear column. Drive two 10x32 flat-head Phillips screws through the
slots into the Tinnerman nuts. See Figure 7-3.
Figure 7-3. Fastening the Rail to the Rear Column