HP-UX LAN Administrator's Guide (Feburary 2007)
Table Of Contents
- About This Document
- 1 New for the HP-UX 11i v3 Release
- 2 Installing HP-UX LAN
- 3 Configuring HP-UX LAN Using SAM
- 4 Manually Installing and Configuring HP-UX LAN
- 5 Troubleshooting HP-UX LAN
- Troubleshooting Overview
- Troubleshooting Q & A
- LAN Interface Card Statistics
- 100Base-T Checklist
- Diagnostic Flowcharts
- Flowchart 1: Configuration Test
- Flowchart 2: Configuration Test continued
- Flowchart 3: Configuration Test continued
- Flowchart 4: Network Level Loopback Test
- Flowchart 5: Network Level Loopback Test continued
- Flowchart 6: Transport Level Loopback Test (using Internet Services)
- Flowchart 7: Link Level Loopback Test
- Flowchart 8: LAN Connections Test
- Flowchart 9: Gateway Remote Loopback Test
- Flowchart 10: Gateway Remote Loopback Test continued
- Flowchart 11: Subnet Test
- 6 LAN Resources
- 7 Network Addressing
- Overview of Network Addressing Schemes
- Networking Terminology
- Network Addresses and Node Names
- Internet Addresses
- Subnet Addresses
- Configuring Gateways on Fixed-Length Subnets
- Variable-Length Subnet Addressing
- Configuring Gateways on Variable-Length Subnets
- Configuring Gateways on Supernets
- IP Multicast Addresses
- Virtual IP (VIP) Addresses
- CIDR - Classless Inter-Domain Routing
- 8 LAN Device and Interface Terminology

DRAFT COPY Troubleshooting HP-UX LAN
Diagnostic Flowcharts
Chapter 5 55
Subnet Test: Verifies the correct use of subnets.
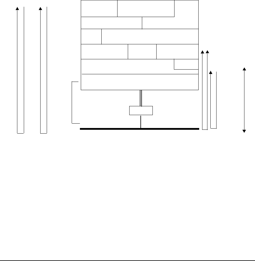
Figure 5-1 Loopback Tests
The loopback tests shown in Figure 5-1 are used to isolate a network communication problem
that may be software- or hardware-related. In any case, you should first have checked that
the problem is not due to a recent configuration change.
The network level loopback test, ping, commonly is tried first. It is fast, efficient, and it does
not require superuser privileges. If the connection passes this test, you know the problem is at
OSI Layer 4 or above. Go on to the transport level loopback test.
The Transport Level Loopback Test can be implemented using Internet Services. In this case,
you use telnet and ftp to systematically focus on a problem.
If the network level loopback test failed, the problem is in OSI Layer 3 or below. In this case,
continue with the link level loopback test, using linkloop or nwmgr --diag, to isolate a
problem to OSI Layer 2 or below.
UDP
IP
LAN Driver
Network Interface Card
ARP
TCP
BSD Sockets
Virtual
NFS Services
DLPI
Terminal
Internet Services
1
2
3
6 & 7
5
4
lanadmin
ICMP
MAU
XTI
OSI Layer
telnet showmount
(NFS)
ping
linkloop
or nwmgr










