HP-UX LAN Administrator's Guide (Feburary 2007)
Table Of Contents
- About This Document
- 1 New for the HP-UX 11i v3 Release
- 2 Installing HP-UX LAN
- 3 Configuring HP-UX LAN Using SAM
- 4 Manually Installing and Configuring HP-UX LAN
- 5 Troubleshooting HP-UX LAN
- Troubleshooting Overview
- Troubleshooting Q & A
- LAN Interface Card Statistics
- 100Base-T Checklist
- Diagnostic Flowcharts
- Flowchart 1: Configuration Test
- Flowchart 2: Configuration Test continued
- Flowchart 3: Configuration Test continued
- Flowchart 4: Network Level Loopback Test
- Flowchart 5: Network Level Loopback Test continued
- Flowchart 6: Transport Level Loopback Test (using Internet Services)
- Flowchart 7: Link Level Loopback Test
- Flowchart 8: LAN Connections Test
- Flowchart 9: Gateway Remote Loopback Test
- Flowchart 10: Gateway Remote Loopback Test continued
- Flowchart 11: Subnet Test
- 6 LAN Resources
- 7 Network Addressing
- Overview of Network Addressing Schemes
- Networking Terminology
- Network Addresses and Node Names
- Internet Addresses
- Subnet Addresses
- Configuring Gateways on Fixed-Length Subnets
- Variable-Length Subnet Addressing
- Configuring Gateways on Variable-Length Subnets
- Configuring Gateways on Supernets
- IP Multicast Addresses
- Virtual IP (VIP) Addresses
- CIDR - Classless Inter-Domain Routing
- 8 LAN Device and Interface Terminology

Network AddressingDRAFT COPY
Subnet Addresses
Chapter 7106
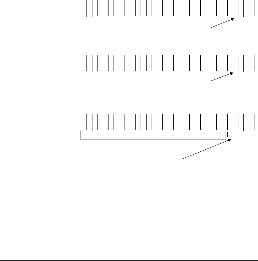
Figure 7-4 shows how a Class C Internet address and a subnet mask combine to form a subnet
address.
Figure 7-4 Internet Address 192.6.12.33 ANDed with Subnet Mask
255.255.255.224
When the internet address is ANDed with the subnet mask, the zero values in the host
portion of the subnet mask will “overwrite” the corresponding bits of the host portion of the
internet address and the resultant subnet address will be 192.6.12.32 as shown in Figure 7-4
above. Non-zero values in the subnet mask indicate that the corresponding bits in the
internet address do not change. The subnet mask may be fixed-length or variable-length.
IP Subnet Mask
11 1111111111 11111111110011111 000
11 0000001100 00011000010000000 001
11 0000001100 00011000010000000 000
255 . 255 . 255 . 224
Subnet
Mask
AND
0 values in mask (00000)
192 . 6 . 12 . 33
Internet
Address
Convert
to
Subnet
Address
overwrite value of 1 (00001)
in IP address
Bit values unchanged
Bit values
converted to
zero
resulting in new value
(00100000) in host address
(or 32 in dot notation)
192 . 6 . 12 . 32










