Operating Environment Software Owner manual
Table Of Contents
- HP Storage Provisioning Manager (SPM) Version 2.0 User Guide
- Contents
- 1 Introduction
- 2 Getting started with SPM
- 3 Importing storage into the storage catalog
- 4 Storage service policy
- Managing templates
- Service types
- Requirement types
- All Of requirement
- Any Of requirement
- Connected To Fibre Channel Endpoint requirement
- Connected To Network requirement
- Fibre Channel Initiator Endpoint requirement
- Fibre Channel Target Endpoint requirement
- Fibre Channel Host requirement
- Network Capability requirement
- RAID Level requirement
- Resource Existence requirement
- Service Deactivation Policy requirement
- Storage Capability requirement
- Storage Pool Available Capacity requirement
- Storage Pool Subscription Ratio requirement
- Storage Pool Volume Count requirement
- Tag requirement
- Use Resource requirement
- Volume Capacity requirement
- Volume Committed Capacity requirement
- Volume Creation Security Group requirement
- 5 Storage service provisioning
- 6 Managing storage catalog entities
- Managing arrays
- Viewing and modifying array properties (Overview tab)
- Viewing array storage pools (Storage Pools tab)
- Viewing array volumes (Volumes tab)
- Viewing array ports (Ports tab)
- Viewing array host entries (Hosts tab)
- Viewing and modifying array capabilities settings (Capabilities tab)
- Viewing and modifying array security settings (Security tab)
- Removing an array
- Managing storage pools
- Managing volumes
- Managing networks
- Managing security
- Resynchronizing resources
- Quarantining resources
- Managing arrays
- 7 Monitoring the storage catalog
- 8 Support and other resources
- A Troubleshooting
- Viewing operational logs
- Addressing common issues
- Storage Provisioning Manager issues
- SPM will not launch in browser
- The user is unable to login through the SPM user interface
- Issues with multiple SPM instances pointed to the same storage resources
- Cannot import 3PAR Storage Systems
- 3PAR SMI-S connection problems
- Service activation fails to present volumes on 3PAR arrays
- EVA arrays and/or XP arrays are marked as Offline when they appear to be functioning correctly outside of SPM
- HP Matrix OE storage pool issues
- Storage Provisioning Manager issues
- Backup and recovery
- Managed SAN
- Unmanaged SAN
- B Working with Brocade Fibre Channel networks
- C Working with EVA storage systems
- D Working with 3PAR storage systems
- Overview
- Understanding how to import 3PAR arrays into SPM
- Understanding 3PAR capacity reporting
- Understanding 3PAR Storage System volume creation/growth
- Understanding 3PAR Storage System virtual domains
- Exposing volume presentations in 3PAR Storage Systems
- Working with 3PAR Storage System host modes
- Presenting volumes on 3PAR Storage Systems
- Creating hosts on a 3PAR Storage System
- Working with 3PAR Storage System active VLUNs and VLUN templates
- Working with autonomic groups
- Volume migration (Tiering)
- Importing a large number of volumes
- Unique identification of common provisioning groups (CPG)
- E Working with HP P9000/XP Disk Array
- F Working with unmanaged networks
- G Working with unmanaged arrays
- H Units of measurement
- Glossary
- Index

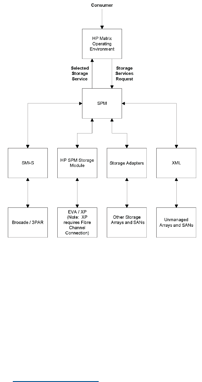
Figure 1 Understanding the SPM environment
The HP Matrix OE infrastructure orchestration capability works with SPM to provide storage services
into that environment and automate several operations related to that storage. SPM has built in
support for many arrays (HP EVA/P6000, HP 3PAR Storage Systems, and HP XP/P9500) as well
as Brocade and HP fabric management software. For more information, see Minimum requirements.
SPM communicates with the management software on these devices to detect their configurations
and dynamically use these resources to satisfy storage service requests. In addition, SPM provides
options to work with devices that do not have built in support:
1. Set up an unmanaged array or unmanaged network to tell SPM needed information about
that device. For more information, see Working with unmanaged networks and Working with
unmanaged arrays. Note that SPM cannot communicate with unmanaged devices, so it is
important that unmanaged data is kept up to date for SPM to accurately fulfill service requests
with them.
2. Write an SPM adapter that facilitates communications between SPM and the device. This will
require advanced knowledge of the device and the ability to programmatically talk to the
device in question. For instructions on how to write an adapter, please contact HP at
spm_device_adapters@hp.com.
10 Introduction










