HP Pascal/iX Reference Manual (31502-90022)
Table Of Contents
- Top of Document
- Preface
- Chapter 1 Introduction
- Chapter 2 Language Elements
- Chapter 3 Data Types
- Chapter 4 Expressions
- Chapter 5 The Declaration Section
- Chapter 6 Statements
- Chapter 7 Program Structure
- Chapter 8 Procedures and Functions
- Chapter 9 Standard Routines
- Chapter 10 Input and Output
- Chapter 11 System Programming Extensions
- Chapter 12 Compiler Options

7- 9
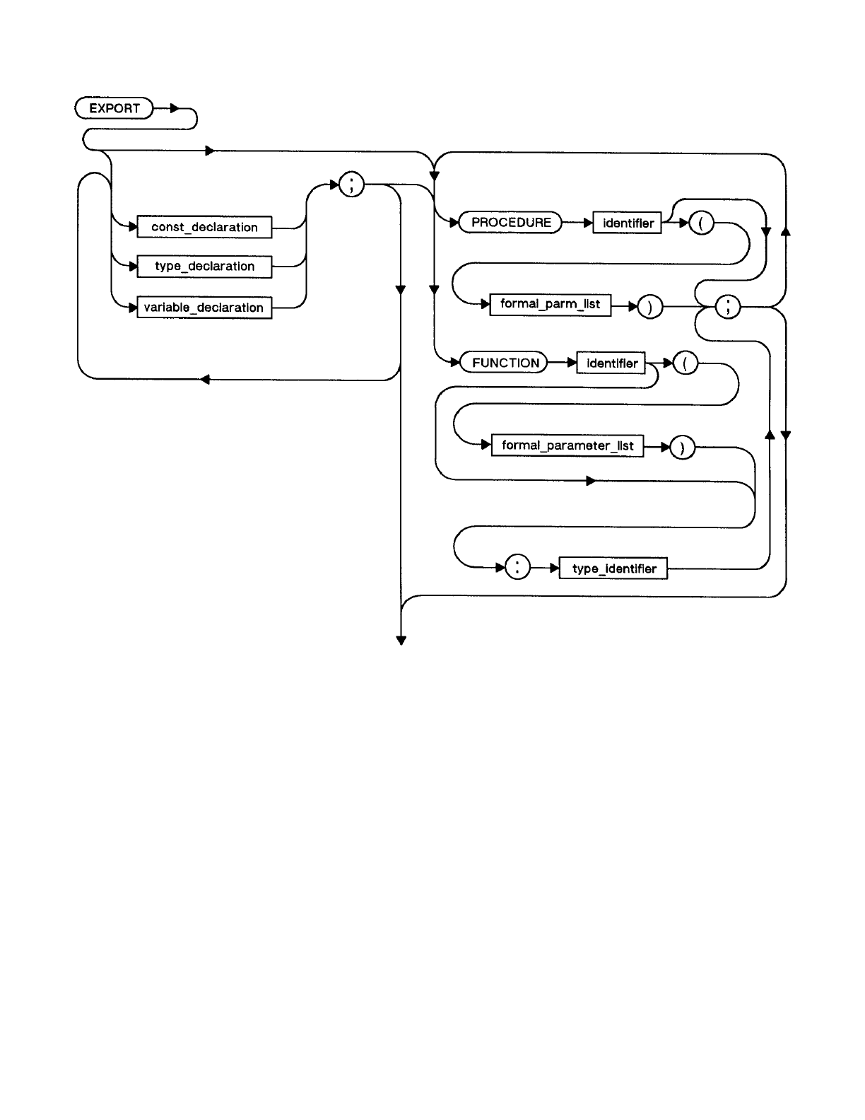
Example
EXPORT { Start of export text }
TYPE
control_num: 0..255; { Exported type }
VAR
last_num: control_num; { Exported variable }
FUNCTION control (i: control_num; flag : Boolean) : Boolean;{Exported function}
IMPORT
This reserved word indicates which modules are needed to compile a
program or module. The IMPORT section is used to name all other modules
upon which the present one depends. One module, m1, depends on another,
m2, if m1 makes use of the objects exported from m2. For instance, m1
calls procedures in m2, or assigns to m2's variables, or declares
variables of a type exported from m2. There is no IMPORT section if the
module is independent of all other modules.
You must use $SEARCH to import a non-standard module that is not defined
within the same compilation unit that contains the import statement. See
"SEARCH" for more information.










