SNA Link/iX Node Managers Guide (30291-90009)
Table Of Contents
- 1 SNA Links Overview
- 2 SNA Node and Link Configuration
- 3 Logging Configuration
- 4 SNA Node Startup and Shutdown
- 5 SNA Link Troubleshooting
- 6 MPE Commands
- 7 SNA Link Installation Information
- A Messages
- SDLC Link Startup Error Messages
- SDLC Link Driver Error Messages
- SNACONTROL Error Messages
- SNA Transport Error Messages
- SNA Transport Logging Messages
- SDLC Link Shutdown Error Messages
- X.25 Link Failure Error Codes
- X.25 Link Module Configurator Error Codes
- X.25 Link QLLC Internal Error Codes
- NetView Alerts Error Messages
- Network Dump Manager Error Messages
- LAN Error Messages
- B Netview Alerts

Chapter 1 23
SNA Links Overview
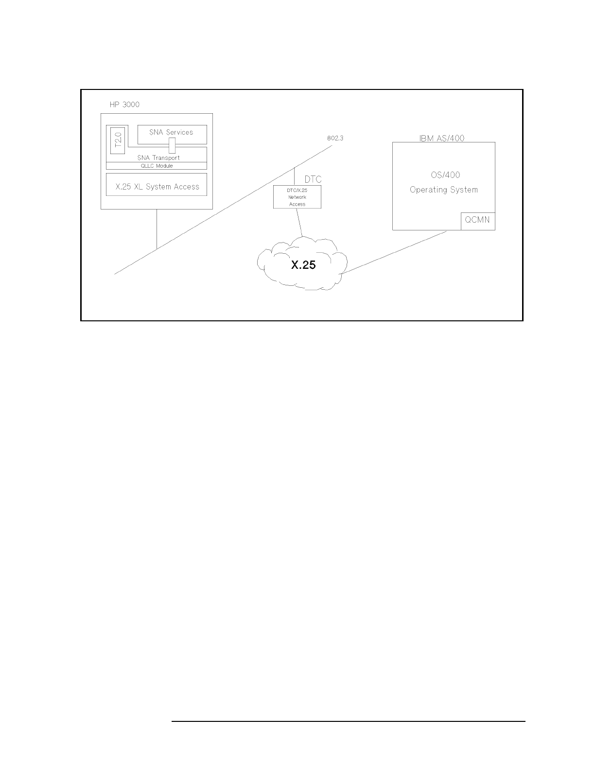
SNA/X.25 Link Overview
Figure 1-4 SNA/X.25 Link HP-to-AS/400 Communication
Host Hardware and Software Requirements
SNA/X.25 Link requires this IBM host hardware:
•AnIBM System/370-compatible mainframe (for example,
Model 370, 303x, and 43xx).
•AnIBM 37xx-compatible communications controller that supports
an X.25 NCP Packet Switching Interface (NPSI) line.
SNA/X.25 Link requires this IBM host software:
• MVS/SP or MVS/XA operating system.
• ACF/NCP network control program.
• ACF/VTAM telecommunications access method.
• X.25 NCP Packet Switching Interface (NPSI) software (version 2
release 1 or later for the IBM 3725, and version 3 for the IBM 3745).
For more-specific information, contact your Hewlett-Packard sales
representative.
AS/400 Hardware and Software Requirements
SNA/X.25 Link requires this IBM AS/400 hardware:
•AnIBM AS/400 computer system with the appropriate
communications controller card installed.
SNA/X.25 Link requires this IBM AS/400 software:










