HP Notebook PC (Intel) * Models: 15-ay000 - 15-ay099 HP 250 G5 Notebook PC HP 256 G5 Notebook PC - Maintenance and Service Guide

Table Of Contents
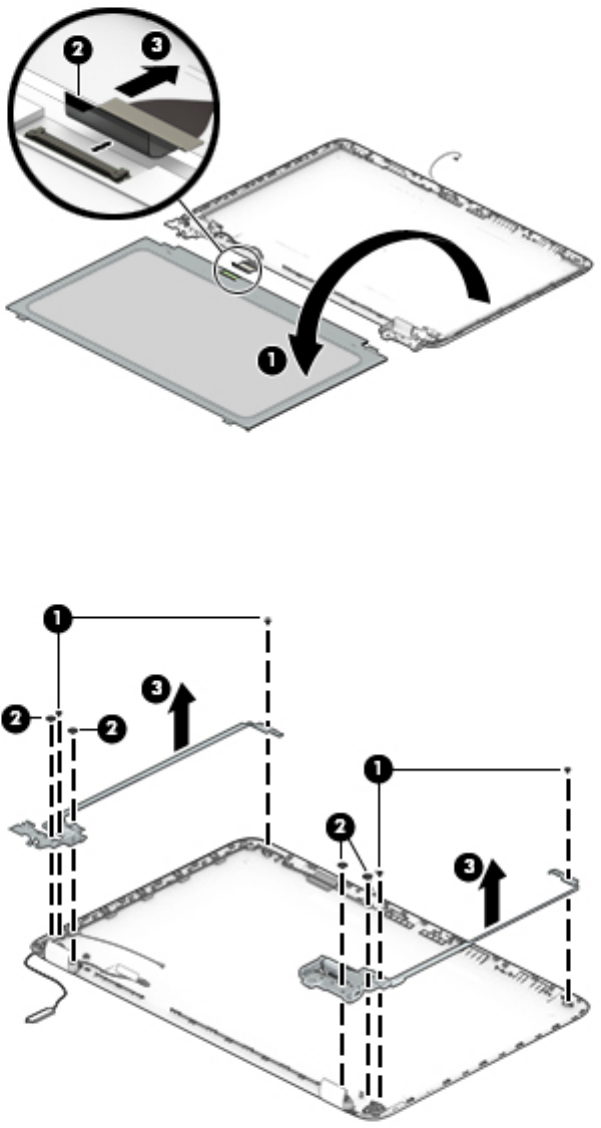
d. Remove the display panel from the computer.
4. To remove the display hinges:
a. For each hinge, remove the two Phillips PM2.5×3.5 screws (1) and the two broadhead Phillips
PM2.5×2.5 screws (2) that secure each hinge to the display enclosure.
b. Remove the display hinges (3).
Component replacement procedures 81