Internal IDE CD-ROM Drive User's Guide
Table Of Contents
- Contents
- About this book
- Safety information
- Part 1: Installation and user’s guide
- Appendix A. Customizing device driver configurationsettings
- Appendix B. Problem solving
- Appendix C. Help and service information
- Appendix D. Product warranties and notices
- Warranty Statements
- IBM Statement of Limited Warranty for United States, PuertoRico, and Canada (Part 1 - General Terms)
- IBM Statement of Warranty Worldwide except Canada,Puerto Rico, Turkey, United States (Part 1 - General Terms)
- Part 2 - Worldwide Country-Unique Terms
- Notices
- Trademarks
- Federal Communications Commission (FCC) statement
- obi32eng.pdf
- OBI32FR.PDF
- Table des matières
- About this book
- Safety information
- Chapitre 1 : Installation et utilisation
- Annexe A. Customizing device driver configurationsettings
- Annexe B. Problem solving
- Annexe C. Help and service information
- Annexe D. Product warranties and notices
- Warranty Statements
- IBM Statement of Limited Warranty for United States, PuertoRico, and Canada (Part 1 - General Terms)
- IBM Statement of Warranty Worldwide except Canada,Puerto Rico, Turkey, United States (Part 1 - General Terms)
- Part 2 - Worldwide Country-Unique Terms
- Notices
- Trademarks
- Federal Communications Commission (FCC) statement
- obi32sp.pdf
- Contenido
- Acerca de este manual
- Información sobre seguridad
- Parte 1: Instalación y guía del usuario
- Apéndice A. Personalización de los valores deconfiguración de los controladores de dispositivos
- Apéndice B. Resolución de problemas
- Apéndice C. Help and service information
- Apéndice D. Product warranties and notices
- Warranty Statements
- IBM Statement of Limited Warranty for United States, PuertoRico, and Canada (Part 1 - General Terms)
- IBM Statement of Warranty Worldwide except Canada,Puerto Rico, Turkey, United States (Part 1 - General Terms)
- Part 2 - Worldwide Country-Unique Terms
- Notices
- Trademarks
- Federal Communications Commission (FCC) statement
- d4ql1mst.pdf
- Indice
- Informazioni su questo manuale
- Informazioni sulla sicurezza
- Parte 1: Guida per l’utente e all'installazione
- Appendice A. Personalizzazione delle impostazioni diconfigurazione dei driver di periferica
- Appendice B. Risoluzione dei problemi
- Appendice C. Informazioni sull'assistenza tecnica
- Appendice D. Informazioni particolari e sulla garanzia
- d4ql1mst.pdf
- OBI32FR.PDF

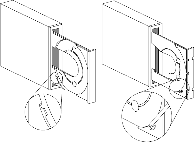
To load a CD into a vertically mounted CD-ROM drive do the following:
1. Press the Eject/Load button.
2. Look at the illustrations and compare them to your loading tray.
v If your loading tray looks like the left illustration, insert the CD carefully
so that the edges of the CD are underneath the tabs on the loading tray.
These plastic tabs cover the edges of the CD and hold it in place. The
tabs are attached to the tray itself and cannot be moved.
v If your loading tray looks like the right illustration, insert the CD into
the tray, and gently push the movable tab forward to hold the CD in
place.
3. Close the loading tray by pressing the Eject/Load button, or by gently
pushing the tray in.
1-10 48X-20X Internal IDE CD-ROM Drive: User’s Guide










