User's Manual
Table Of Contents
- Safety information
- Chapter 1. General information
- Chapter 2. Server setup road map
- Chapter 3. Product overview
- Chapter 4. Turning on and turning off the server
- Chapter 5. Configuring the server
- Chapter 6. Installing, removing, or replacing hardware
- Guidelines
- Removing the server cover
- Removing and reinstalling the front bezel
- Installing, removing, or replacing hardware
- Installing or removing a memory module
- Installing or removing a PCI card
- Installing or removing the Ethernet card
- Installing or removing the RAID card
- Installing or removing the ThinkServer 9240-8i RAID 5 Upgrade Key
- Installing or removing the ThinkServer SATA Software RAID 5 Key
- Installing or removing the ThinkServer iKVM Remote Management Module
- Installing or removing the TPM module
- Installing or removing the DIT module
- Installing or replacing an optical drive
- Installing or replacing a hot-swap hard disk drive
- Removing or installing a non-hot-swap hard disk drive
- Replacing the hot-swap hard disk drive backplane
- Replacing the non-hot-swap power supply assembly
- Replacing a hot-swap redundant power supply module
- Replacing the power distribution board and cage assembly
- Replacing the front panel board assembly
- Replacing the front system fan
- Replacing the rear system fan
- Replacing the heat sink and fan assembly
- Replacing the microprocessor
- Replacing the system board battery
- Completing the parts replacement
- Chapter 7. Troubleshooting and diagnostics
- Chapter 8. Getting information, help, and service
- Appendix A. Notices
- Index

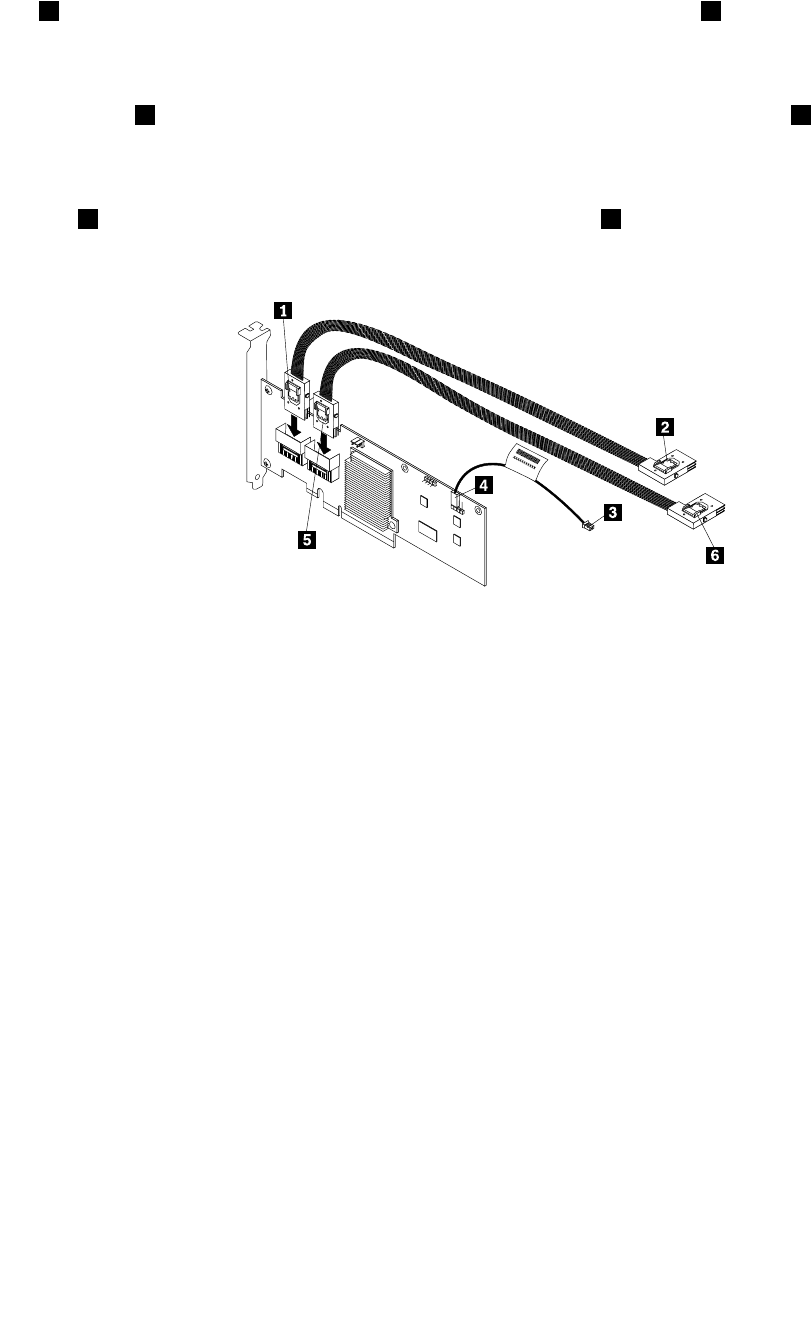
Usethefollowinginstructionstoconnectthecables:
1.Useone700mm(27.56inches)mini-SAStomini-SASsignalcable.Connectthemini-SASconnector
1totheport0ontheRAIDcard.Then,connectthemini-SASconnector2tothemini-SASsignal
cableconnectoronthe3.5-inchhot-swapharddiskdrivebackplaneinstalledonthelowerharddisk
drivecage.
2.Usetheother700mm(27.56inches)mini-SAStomini-SASsignalcable.Connectthemini-SAS
connector
5totheport1ontheRAIDcard.Then,connectthemini-SASconnector6tothemini-SAS
signalcableconnectoronthe3.5-inchhot-swapharddiskdrivebackplaneinstalledontheupper
harddiskdrivecage.
3.Usethe2-pin200mm(7.87inches)RAIDcardtosystemboardharddiskdriveLEDcable.Connectthe
end4totheexternalconnectorontheRAIDcardandtheend3totheharddiskdriveLEDconnector
onthesystemboard.
Figure23.ConnectingcablesforservermodelswithtwobackplanesandaRAIDcard
ForconnectorlocationinformationabouttheRAIDcard,hot-swapharddiskdrivebackplane,andthe
systemboard,refertotherelatedtopicsin“Locations”onpage13.
Forinformationaboutconnectingtheappropriatepowerconnectorofthepowersupplytothebackplane,
see“Hot-swapharddiskdrivebackplane”onpage34
.
Servermodelswithuptoeight2.5-inchSAShot-swapharddiskdrivesandonebackplane
Forservermodelswithuptoeight2.5-inchSAShot-swapharddiskdrivesandonebackplane,arequired
RAIDcardmustbeinstalledintheserver.
ThefollowingcablesthatcomewiththeRAIDcardarerequired:
Note:TheoptionpackagefortheRAIDcardisdesignedfordifferenttypesofserversandmightcontain
additionalcablesthatarenotrequiredtobeinstalledintoyourserver.
•Oneortwo700mm(27.56inches)mini-SAStomini-SASsignalcablesdependingonthenumberof
theharddiskdrivesinstalled
•One2-pin200mm(7.87inches)RAIDcardtosystemboardharddiskdriveLEDcable
Chapter3.Productoverview39










