Manual

6HWWLQJXSDQGSODFLQJLQVHUYLFH
IKA
-WERKE C 5000 control/duo-control Ver. 10 04.07
3DJH
f
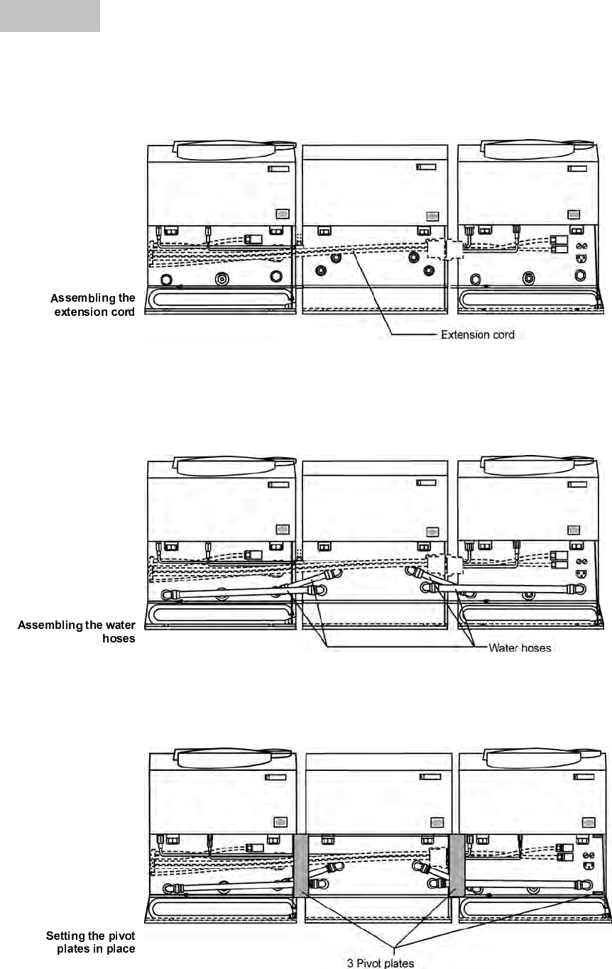
Connect the second measurement cell with the controller through the extension
cord. The plugs should be screwed in place.
g
Remove the blind plugs and insert the water hoses into the water hose connections
of the cooling system and the two measurement cells (see Section 8.1, Part 3).
h
Set the pivot plates in place.










