Technologies Printer User Manual
Table Of Contents
- Introducing the EasyCoder PL4 Printer
- Learning About the Printer
- Installing the Battery
- Charging the Battery
- Understanding the Control Panels
- Loading the Media
- Loading Fanfold Media
- Verifying the Printer Is Working
- Establishing Communications With a Terminal
- Setting Up the Software
- Downloading Firmware
- Using the Accessories
- Maintaining the Printer
- Troubleshooting
- Specifications

20 EasyCoder PL4 Printer User’s Guide
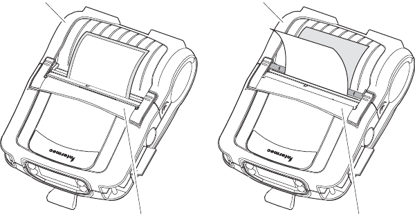
7 Rotate the latch assembly until it locks in place.
8 Turn on the printer or press the Feed button if the printer is
already on. The printer advances the media.
Tear-Off mode
Self-Strip mode
Latch
assembly
Media
cover
Latch
assembly
Media
cover
PL4U044.eps
The printer advances the media to the next label, if printing
labels. If you are printing on continuous media, the printer will
advance a short strip of media and will then be ready for
printing.
To switch from Self-Strip mode to Tear-Off mode
1 Turn off the printer.
2 Press the latch release button on the side of the printer. The
latch assembly flips open automatically.
3 Pull the self-strip bar slightly forward and then push it down.










