Technologies Printer User Manual
Table Of Contents
- Introducing the EasyCoder PL4 Printer
- Learning About the Printer
- Installing the Battery
- Charging the Battery
- Understanding the Control Panels
- Loading the Media
- Loading Fanfold Media
- Verifying the Printer Is Working
- Establishing Communications With a Terminal
- Setting Up the Software
- Downloading Firmware
- Using the Accessories
- Maintaining the Printer
- Troubleshooting
- Specifications

8 EasyCoder PL4 Printer User’s Guide
Belt clip
Battery
Charger
jack
PL4U006.eps
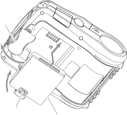
4 Press the battery into the printer until it locks in place.
When the battery is first installed, the Control Panel indicators
may briefly turn on and then go off which indicates the battery
is not fully charged. For help, see “Using the Single Battery
Charger” and “Understanding the Control Panels” later in this
guide.
Charging the Battery
This section explains how to use the following chargers:
• Single battery charger (P/N AT15759-1) that comes with an
AC contact adapter for the U.S.A. (110V). You can also order
a set of international contact adapters (P/N AN16740-1).
• 4-pack battery charger (P/N AT16305-2) that is designed to
charge up to four PL4 batteries simultaneously. You must
remove the batteries from the printer to charge them.
Using the Single Battery Charger
Using the single battery charger, you can charge the battery
while it is in the printer or when it is removed. If the battery is
in the printer, the printer must be turned off to charge the
battery.










