Chain Saw Operators Manual
Table Of Contents

English – 7
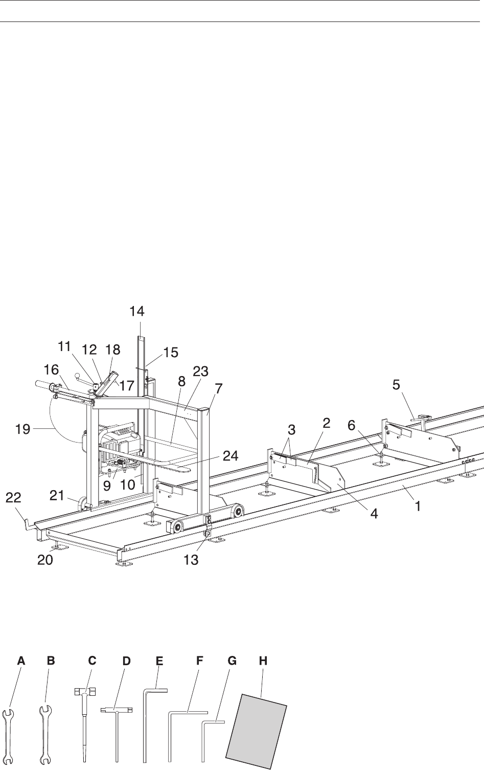
One-man sawmill chain saw engine
The one-man sawmill consists of two main parts:
• The carriage with engine and saw
• Rails
1. Rail sections (2)
2. Log lifter
3. Timber supports (short and long)
4. Log bolster
5. Log lock
6. Adjustment nut
7. Saw carriage
8. Protective loop
9. Vibration damping plate
10. Skid rail
11. Idler adjustment screw for saw height
12. Height setting lock
DESCRIPTION
13. Underlying support wheel
14. Scale pointer with scale
15. Indicator
16. Handlebars
17. Throttle
18. Throttle lock
19. Throttle cable
20. Support foot
21. Scraper
22. Rail stop
23. Machine plate
24. Bar and chain
Tools and operator’s manual
A. Open ended spanner 13-15 mm
B. Open ended spanner 17-19 mm
C. Socket spanner
D. Combination spanner 13-19
E. Combination spanner
F. Allen key 6 mm
G. Allen key 4 mm
H. This operator’s manual