User manual

7.2.1 Zakres dostawy / akcesoria seryjne
Platforma i wyświetlacz
4 x nóżki
2 x zasilacz
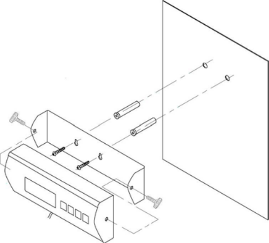
Uchwyt ścienny (ze śrubami mocującymi)
Instrukcja obsługi
7.2.2 Wskazówki montażowe dotyczące zastosowania uchwytu ściennego
EOS_F-BA-pl-1112
12