User manual

SFB-BA-nl-1324 39
Instelling van de weginggegevens:
De toetsen en tegelijk drukken. De gegevens in het optelgeheugen
worden gewist.
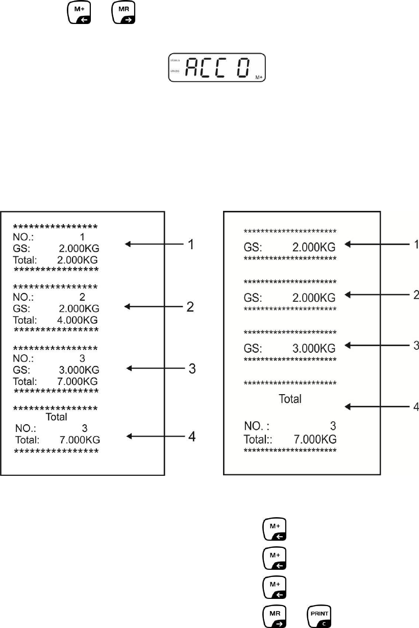
Voorbeeld van een uitdraai, KERN YKB-01N, geijkt weegsysteem:
Instelling van het menu
―P1 COM‖ of ―P2 COM‖ ―Lab 2‖ / ―Prt 7‖
Instelling van het menu
―P1 COM‖ of ―P2 COM‖ ―Lab 0‖ / ―Prt 0‖
1
Eerste weging
2
Tweede weging
3
Derde weging
4
Aantal wegingen/ totaal
+










