Appliances Trash Compactor Part List
Table Of Contents

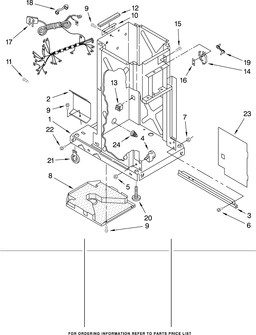
FRAME PARTS
2
For Model: KFCK03ITWH0
(White)
W10122455
Illus. Part
No. No. DESCRIPTION
Illus. Part
No. No. DESCRIPTION
Illus. Part
No. No. DESCRIPTION
1 Frame (Not A
Serviceable Part)
2 9870867 Shield, Slide
Track (2)
3 9870976 Frame, Slide (R.H.)
9870975 Frame, Slide (L.H.)
4 4153788 Bearing, Roller (2)
5 776356 Locknut,
3/8−24 (2)
6 777458 Screw,
6−32 x 3/8 (4)
7 3400938 Nut, 6−32 (4)
8 9870167 Pan, Bottom
9 489478 Screw, 8 x 1/2
10 775668 Angle, Top
Support
11 777070 Screw,
8−32 x 5/16
12 776780 Barrier, Glass
13 4149377 Switch, Drawer
Safety
14 777811 Switch, Top
Limit &
Directional
15 777849 Screw,
6−20 x 1" (2)
16 777850 Plate, Nut
17 9872116 Wiring Harness &
Power Cord
18 776119 Bushing, Cord
19 777035 Clamp, Wire
20 775526 Leveler,
Front (2)
21 9870585 Wheel,
Leveler (2)
22 780034 Screw,
10−24 x 3/8 (2)
23 9870444 Panel, Inner
24 777180 Spring,
Container







