Appliances Trash Compactor Part List
Table Of Contents

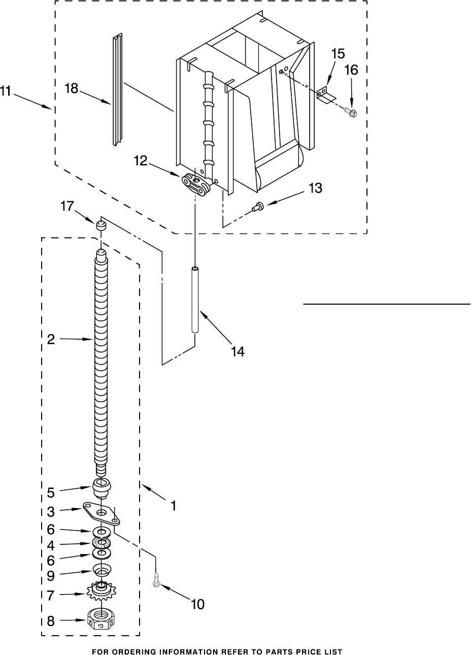
POWERSCREW AND RAM PARTS
3
For Model: KFCK03ITWH0
(White)
W10122455
Illus. Part
No. No. DESCRIPTION
1 9870500 Screw, Power
Complete
Assembly (2)
2 Screw, Power
(Available Only
As Complete
Assembly)
3 779121 Plate, Bearing (2)
4 775482 Bearing, Needle (2)
5 776941 Hub, Power
Screw (2)
6 775481 Race, Thrust (2)
7 777385 Sprocket,
Washer (2)
8 4154842 Nut, Power
Screw (2)
9 777332 Washer, Cone (2)
10 9871067 Screw,
1/4−20 x 3/4
11 9871251 Ram Assembly
12 9870163 Nut, Power
13 9870187 Stud
14 9870037 Stop, Ram
15 9870498 Bracket, Top Limit
Switch
16 489399 Screw, (2)
17 9870775 Cap, Stop
18 9870169 Slide, Ram (4)







