Rerigerator Parts List
Manuals
Brands
KitchenAid Manuals
Refrigerator
KTRA22EMSS00
6
7
8
9
10
11
12
13
14
15
Table Of Contents
CABINET
LITERATURE
LINER
SHELF
REFRIGERATOR DOOR
UNIT
ICEMAKER
FREEZER DOOR
WATER DISPENSER
OPTIONAL
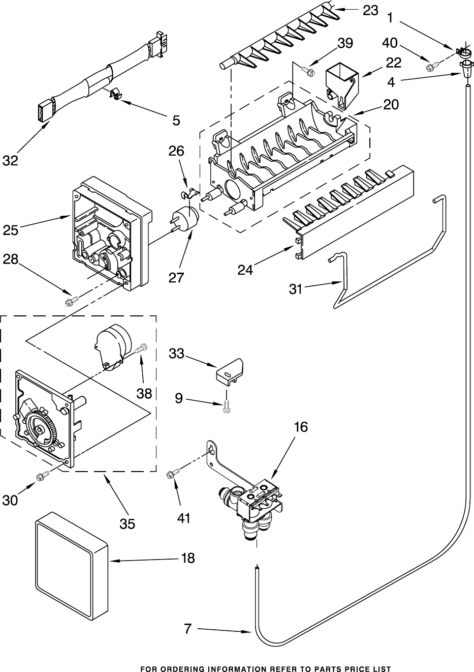
ICEMAKER PARTS
11
8198822
For Models: KTRA22EMWH00, KTRA22EMBT00, KTRA22EMBL00, KTRA22EMSS00, KTLA22EMSS00
(White) (Biscuit) (Black) (Stainless) (Stainless)
1
...
...
9
10
11
12
13
14
...
15